授权公布号:CN212264568U
一种气缸套单锥夹具
有效
申请
2020-05-14
申请公布
1970-01-01
授权
2021-01-01
预估到期
2030-05-14
| 申请号 | CN202020804176.3 |
| 申请日 | 2020-05-14 |
| 授权公布号 | CN212264568U |
| 授权公告日 | 2021-01-01 |
| 分类号 | B23B31/40 |
| 分类 | 机床;不包含在其他类目中的金属加工; |
| 申请人名称 | 湖南鑫源缸套有限责任公司 |
| 申请人地址 | 湖南省常德市津市市三洲驿办事处蔡家河社区 |
专利法律状态
2021-01-01
授权
状态信息
授权
摘要
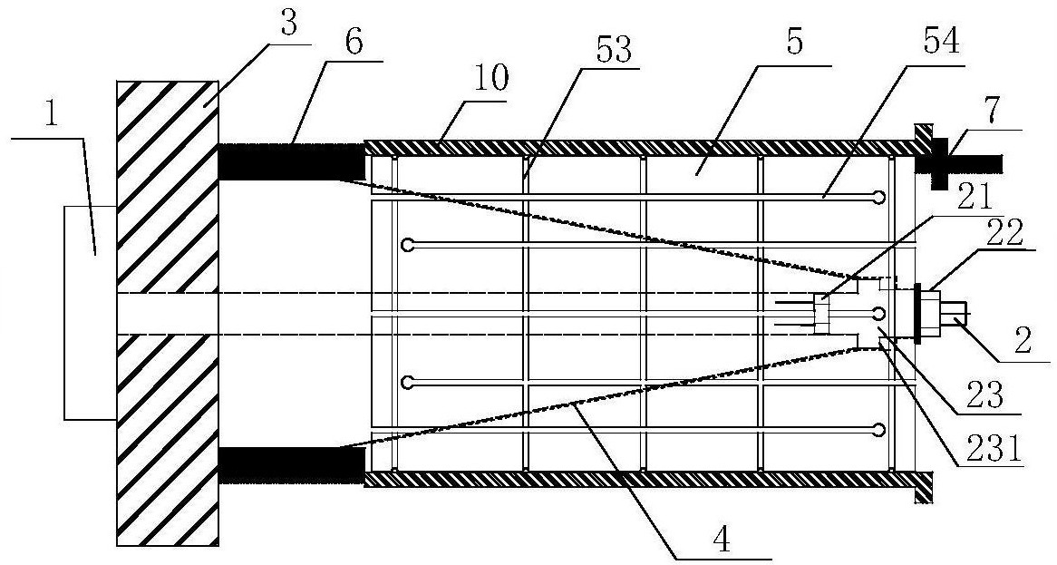
本申请提供一种气缸套单锥夹具,包括:油缸、拉杆、法兰、锥体和夹具主体,锥体套接于所述拉杆上,夹具主体套接于锥体上,气缸套套接在夹具主体上;拉杆的前端分别螺纹连接有第一螺母和第二螺母,第一螺母设置于锥体内部,第二螺母设置于夹具主体外部,拉杆上还套接有滑套,滑套设有阻挡面,夹具主体为前端设有挡面的空腔圆柱体,挡面上设有通孔,在夹具主体的表面设有弹簧槽和伸缩缝,夹具主体还设有与所述弹簧槽相匹配的弹簧。本装置仅包含一个锥体,结构单一,加工难度小,通过锥体、夹具主体、滑套、第一螺母以及第二螺母的相互配合即可实现气缸套单锥夹具的涨缩,且以上各部件的配合度要求不高,容易达到较高的加工精度。


