授权公布号:CN212858685U
气缸套高速镗内孔夹具
有效
申请
2020-08-05
申请公布
1970-01-01
授权
2021-04-02
预估到期
2030-08-05
| 申请号 | CN202021615451.3 |
| 申请日 | 2020-08-05 |
| 授权公布号 | CN212858685U |
| 授权公告日 | 2021-04-02 |
| 分类号 | B23Q3/08 |
| 分类 | 机床;不包含在其他类目中的金属加工; |
| 申请人名称 | 湖南鑫源缸套有限责任公司 |
| 申请人地址 | 湖南省常德市津市市三洲驿办事处蔡家河社区 |
专利法律状态
2021-04-02
授权
状态信息
授权
摘要
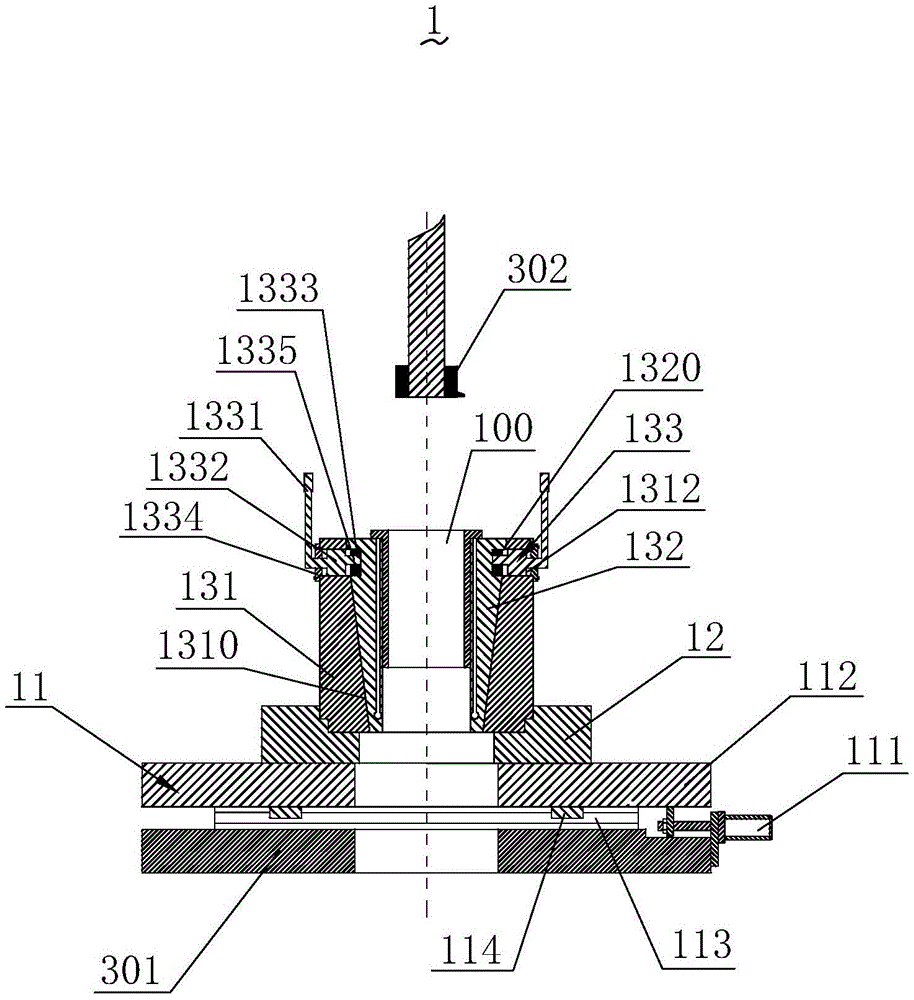
本实用新型涉及一种气缸套高速镗内孔夹具,其包括固定安装于镗床工作台的径向位移机构、设于所述径向位移机构的底座和设于所述底座的轴向方向的夹具体;所述夹具体包括锥套、锥体和锁紧机构,所述锥套的一端固定安装于所述底座,且所述锥套内设有锥形通孔,其另一端设有用于安装所述锁紧机构的安装孔,所述锥体通过所述锁紧机构限位地设于所述锥形通孔,气缸套轴向地通过锥体装夹于所述锥体的内腔。本实用新型利用所述夹具体进行对气缸套的外圆面进行装夹,产品形变量小,装夹方便,提高了产品的加工尺寸精度,采用所述锁紧机构进行锁紧,较传统的液压油缸夹紧方式,既简便实用,又节约成本。


