授权公布号:CN212264608U
一种气缸套卧镗机床
有效
申请
2020-05-09
申请公布
1970-01-01
授权
2021-01-01
预估到期
2030-05-09
| 申请号 | CN202020751321.6 |
| 申请日 | 2020-05-09 |
| 授权公布号 | CN212264608U |
| 授权公告日 | 2021-01-01 |
| 分类号 | B23B41/12;B23B29/02;B23Q3/08 |
| 分类 | 机床;不包含在其他类目中的金属加工; |
| 申请人名称 | 湖南鑫源缸套有限责任公司 |
| 申请人地址 | 湖南省常德市津市市三洲驿办事处蔡家河社区 |
专利法律状态
2021-01-01
授权
状态信息
授权
摘要
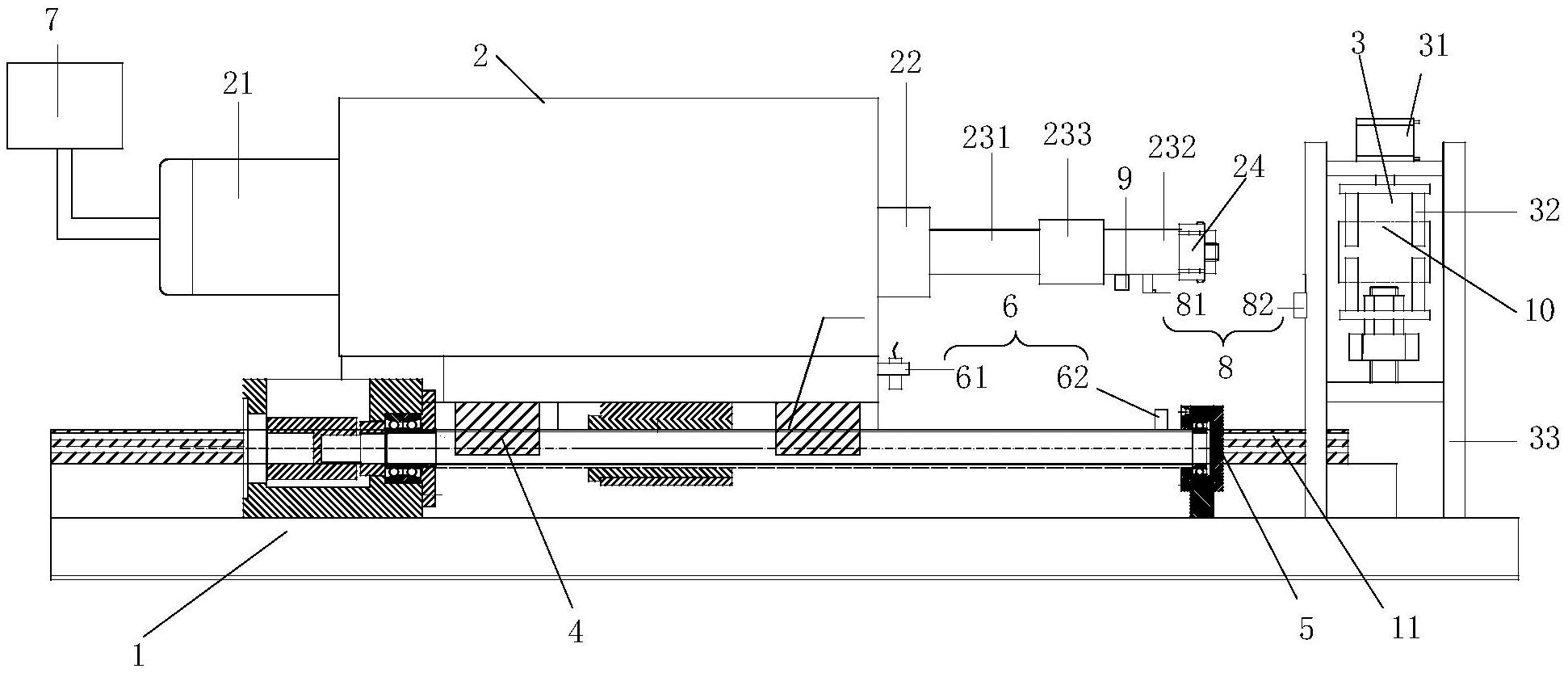
本申请提供一种气缸套卧镗机床,包括设有通过连接件相互连接的第一镗杆和第二镗杆。安装时,先将第一镗杆和第二镗杆套入连接本体内,确定第一镗杆和第二镗杆在连接件上的连接位置,将定位钢球放入球形孔中,拧紧紧定螺钉,将定位钢球与球形孔紧密连接,从而将第一镗杆和第二镗杆的连接位置确定下来。本实施例通过连接件将第一镗杆和第二镗杆进行可拆卸连接,镗杆的总长度可根据实际需要进行灵活调节,增强了本装置的实用性。另外,本实施例通过紧定螺钉和钢球相配合的定位方式,减少了传统螺栓固定方式对镗杆机械性能的破坏。本实施例中,连接件套接于第一镗杆和第二镗杆的外侧,能够在一定程度上提高镗杆的支撑强度,减轻镗杆重力的影响。


