授权公布号:CN212550922U
一种气缸套清洗机
有效
申请
2020-06-08
申请公布
1970-01-01
授权
2021-02-19
预估到期
2030-06-08
| 申请号 | CN202021030630.0 |
| 申请日 | 2020-06-08 |
| 授权公布号 | CN212550922U |
| 授权公告日 | 2021-02-19 |
| 分类号 | B08B9/36; |
| 分类 | 清洁; |
| 申请人名称 | 湖南鑫源缸套有限责任公司 |
| 申请人地址 | 湖南省常德市津市市三洲驿办事处蔡家河社区 |
专利法律状态
2021-02-19
授权
状态信息
授权
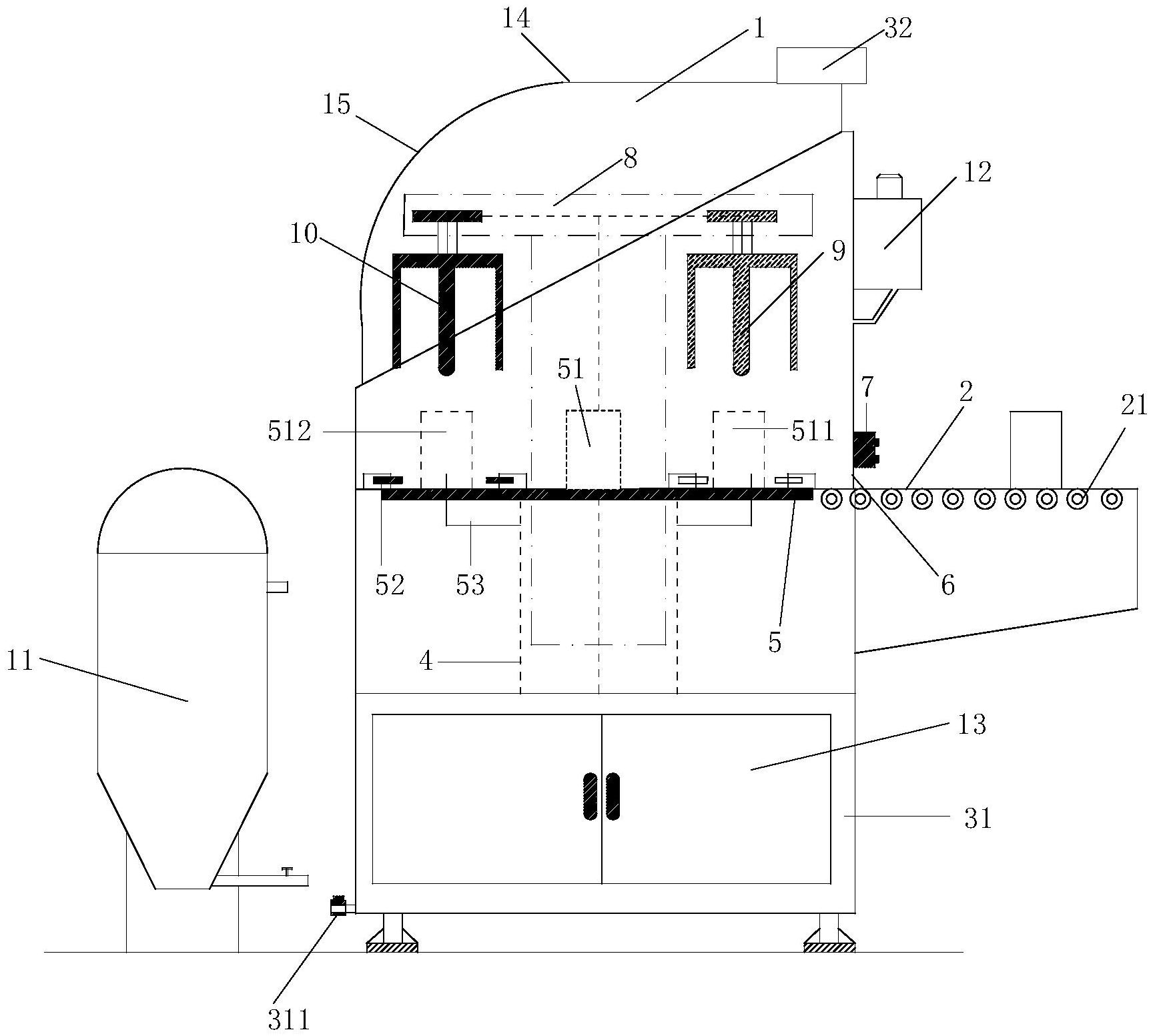
摘要
本申请提供一种气缸套清洗机,本气缸套清洗机设置有进出料平台,进出料平台的一端可以直接与生产线相连接,另一端与通过进出料口伸入所述清洗机壳体内部,避免了气缸套工件在生产线与清洗机之间转运造成摩擦和磕碰。另外,本申请设置有环形平台,环形平台上设置有清洗工位和风干工位,气缸套工件可在清洗工位和风干工位上依次进行清洗和风干,风干后的气缸套工件通过进出料口离开本装置。本申请将气缸套工件的清洗和风干集中在同一装置内完成,提高了气缸套加工效率,同时进一步避免了工件转运收到的损伤。


