授权公布号:CN208262718U
一种组合式定扭矩扳手反作用臂
有效
申请
2018-06-08
申请公布
1970-01-01
授权
2018-12-21
预估到期
2028-06-08
| 申请号 | CN201820887971.6 |
| 申请日 | 2018-06-08 |
| 授权公布号 | CN208262718U |
| 授权公告日 | 2018-12-21 |
| 分类号 | B25B23/00 |
| 分类 | 手动工具;轻便机动工具;手动器械的手柄;车间设备;机械手; |
| 申请人名称 | 山东卡特重工机械有限公司 |
| 申请人地址 | 山东省临沂市临沭县经济技术开发区 |
专利法律状态
2018-12-21
授权
状态信息
授权
摘要
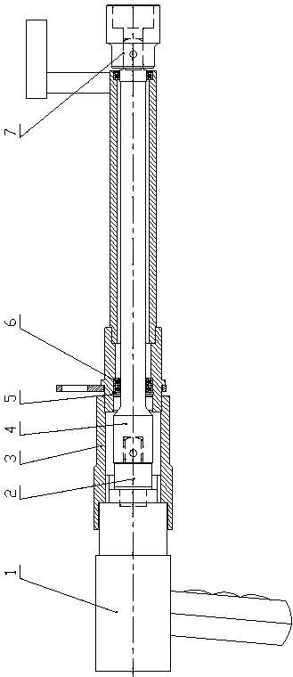
本实用新型涉及定扭矩扳手配套装置,提供一种组合式定扭矩扳手反作用臂,包括一端与定扭矩扳手输出轴活动连接的延长杆,延长杆的另一端设有与螺母结合的套筒,定扭矩扳手的输出轴外侧设有连接套,连接套一端与扭矩扳手外侧套装固定,另一端固定设有套管组合,套管组合包括若干级套管,套管组合内部设置容纳延长杆的空腔;套管的中部设有吊环,套管的端部设有与工件支撑的限位装置。本实用新型结构简单,安装更换方便,可根据各种长度的延长杆制作,通过转动吊环,可配平衡吊使用,方向调整方便,减少劳动强度。


