授权公布号:CN215586083U
一种涂装前处理线粉末状药剂自动溶解添加装置
有效
申请
2020-12-24
申请公布
1970-01-01
授权
2022-01-21
预估到期
2030-12-24
| 申请号 | CN202023150395.3 |
| 申请日 | 2020-12-24 |
| 授权公布号 | CN215586083U |
| 授权公告日 | 2022-01-21 |
| 分类号 | B01F27/90;B01F35/71;B01F21/10;B01F23/53 |
| 分类 | 一般的物理或化学的方法或装置; |
| 申请人名称 | 浙江今飞凯达轮毂股份有限公司 |
| 申请人地址 | 浙江省金华市婺城区夹溪路888号办公楼 |
专利法律状态
2022-01-21
授权
状态信息
授权
摘要
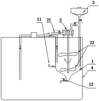
本实用新型提供了一种涂装前处理线粉末状药剂自动溶解添加装置,包括药剂容器、搅拌泵和加药漏斗,其特征在于,所述药剂容器置于待加药剂的药剂槽内,所述药剂容器的中下部设有单向的进液管,所述药剂容器的顶部设有所述搅拌泵和所述加药漏斗,所述搅拌泵上连接有进气管,进气管上设有三路阀可驱动所述搅拌泵正反双向转动,所述搅拌泵设有伸入所述药剂容器的搅拌叶片,所述加药漏斗的加药管出口置于所述搅拌叶片旁。本实用新型提供的涂装前处理线粉末状药剂自动溶解添加装置,通过进液管及单向阀导入药剂槽内的药剂基液,通过漏斗导入粉末状药剂,驱动搅拌泵搅动溶解药剂,省却了大量的人工溶解药剂的辅助工序和危害。


