授权公布号:CN215793680U
一种防止操作烫伤的车轮维修用修补机
有效
申请
2021-10-09
申请公布
1970-01-01
授权
2022-02-11
预估到期
2031-10-09
| 申请号 | CN202122422447.6 |
| 申请日 | 2021-10-09 |
| 授权公布号 | CN215793680U |
| 授权公告日 | 2022-02-11 |
| 分类号 | B60S5/00 |
| 分类 | 一般车辆; |
| 申请人名称 | 佛山市南海安驰铝合金车轮有限公司 |
| 申请人地址 | 广东省佛山市南海区狮山镇长虹岭工业园 |
专利法律状态
2022-02-11
授权
状态信息
授权
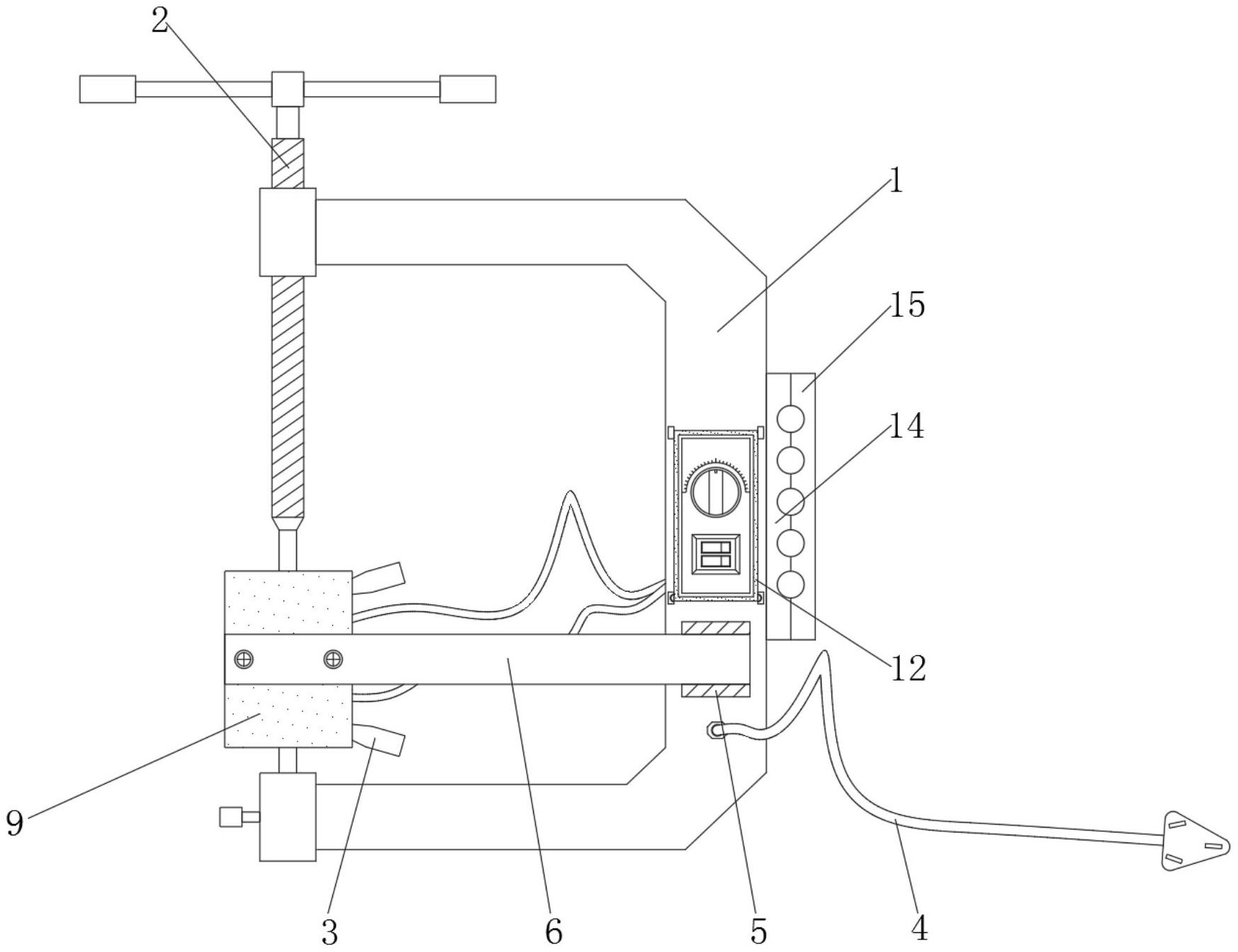
摘要
本实用新型公开了一种防止操作烫伤的车轮维修用修补机;包括:机架,内部螺纹连接有施力丝杆,所述机架和施力丝杆的一端均安装有加热烫头,所述机架的表面连接有电源接线;连接耳,垂直连接在所述机架的表面,所述连接耳的内部连接有连接杆,所述连接杆的内部设置有卡合弹簧,所述卡合弹簧的一端连接有卡珠,所述连接杆的表面安装有挡板。该防止操作烫伤的车轮维修用修补机,通过转动机架两侧的连接杆,使挡板对加热烫头进行遮挡,从而达到防止烫伤的目的,且通过转动防护盖,使防护盖固定并对机架表面设置的调节控制面板进行遮盖,以便于对调节控制面板进行防护,达到防止误碰的目的。


