授权公布号:CN114618389B
一种高流率固气混合式加热器
有效
申请
2022-04-11
申请公布
2022-06-14
授权
2023-12-15
预估到期
2042-04-11
| 申请号 | CN202210374594.7 |
| 申请日 | 2022-04-11 |
| 申请公布号 | CN114618389A |
| 申请公布日 | 2022-06-14 |
| 授权公布号 | CN114618389B |
| 授权公告日 | 2023-12-15 |
| 分类号 | B01J6/00;B01D45/16;B01F23/30;B01F35/92;F28C3/12 |
| 分类 | 一般的物理或化学的方法或装置; |
| 申请人名称 | 哈尔滨锅炉厂有限责任公司 |
| 申请人地址 | 黑龙江省哈尔滨市三大动力路309号 |
专利法律状态
2023-12-15
授权
状态信息
授权
2022-07-01
实质审查的生效
状态信息
实质审查的生效;IPC(主分类):B01J6/00;申请日:20220411
2022-06-14
公布
状态信息
公布
摘要
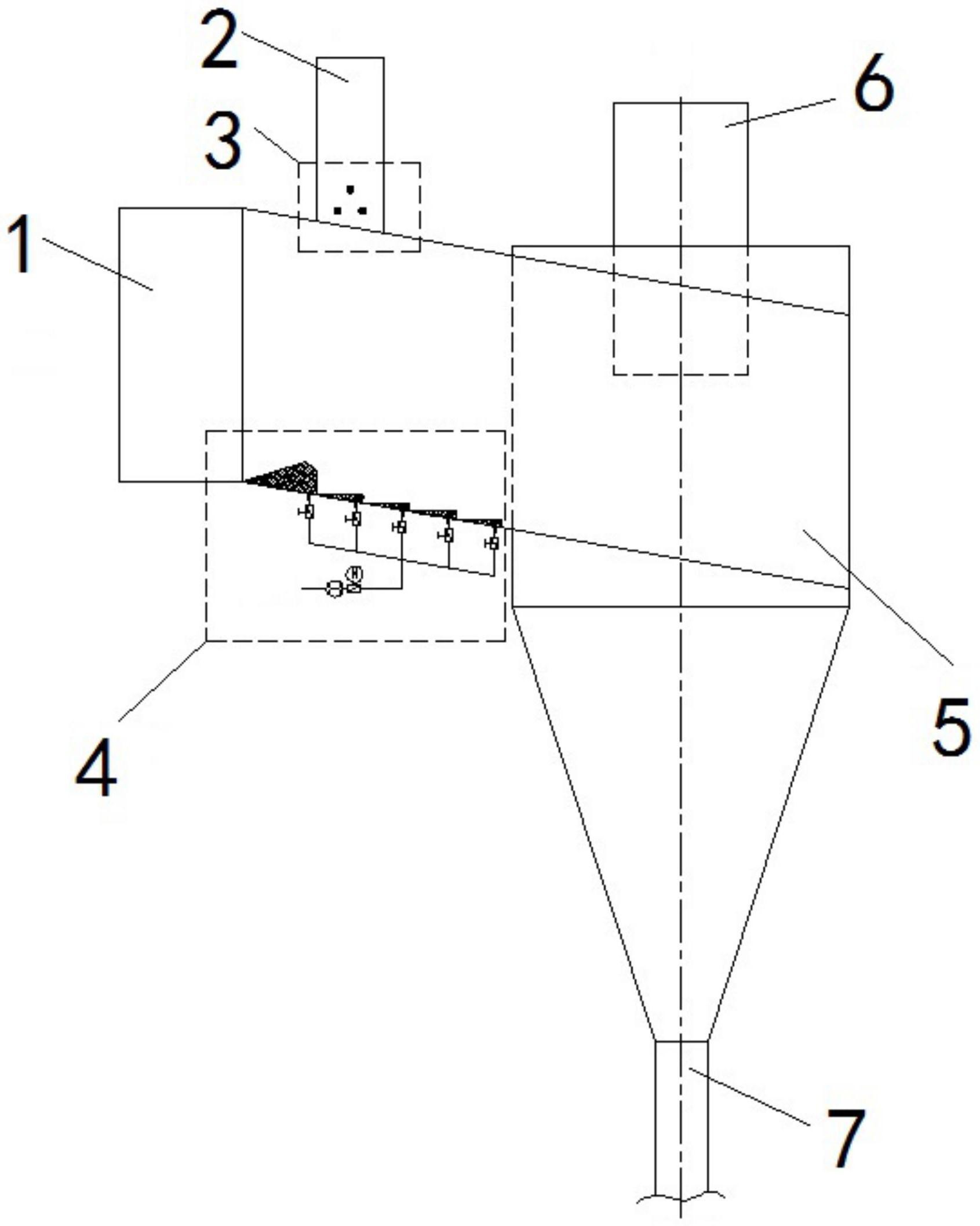
本发明涉及钙法碳捕集技术领域,具体涉及一种高流率固气混合式加热器,为了解决现有加热器很少涉及碳捕集,排放的二氧化碳对环境造成影响的问题,它包括入口烟道、载热剂入口管道、颗粒均流器、积灰扰流器、旋风分离器、出口烟道和载热剂出口管道;入口烟道与旋风分离器的侧壁连接,入口烟道的顶部与载热剂入口管道连接,出口烟道设置在旋风分离器的顶部,载热剂出口管道设置在旋风分离器的底部,入口烟道和载热剂入口管道之间设有颗粒均流器,入口烟道的底部设有积灰扰流器,采用固气直接混合式加热,极大的提高了换热效率,缩短换热设备体积及投资,利用旋风分离器技术,可实现物料的高效分离,采用均流器、扰流器等结构,保证固气预混合效果。


