授权公布号:CN214313458U
一种铅酸蓄电池铜芯端子
有效
申请
2021-01-27
申请公布
1970-01-01
授权
2021-09-28
预估到期
2031-01-27
| 申请号 | CN202120233824.9 |
| 申请日 | 2021-01-27 |
| 授权公布号 | CN214313458U |
| 授权公告日 | 2021-09-28 |
| 分类号 | H01M50/553 |
| 分类 | 基本电气元件; |
| 申请人名称 | 江西京九电源科技有限公司 |
| 申请人地址 | 江西省南昌市南昌县小蓝经济开发区富山一路1388号 |
专利法律状态
2021-09-28
授权
状态信息
授权
摘要
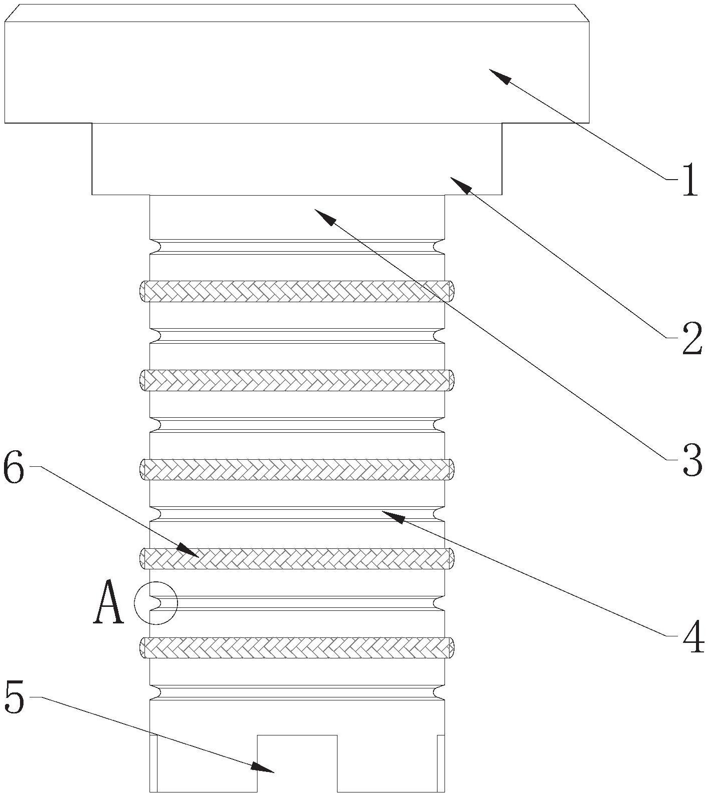
本实用新型公开了一种铅酸蓄电池铜芯端子,包括自上而下依次相连的顶帽部、过渡段、铜芯杆,顶帽部、过渡段与铜芯杆均为圆柱体,三者的内径尺寸为顶帽部>过渡段>与铜芯杆;铜芯杆的外壁设置若干圈均匀上下间隔分布的凹槽,凹槽环绕在铜芯杆外围表面上,两两凹槽之间的铜芯杆外壁上设置环形凸起,凸起环绕在铜芯杆外围表面上。本实用新型在铜芯杆表面设置凹槽与凸起,使得铜芯杆外壁表面形成多阶梯结构,增加铜芯表面积及提高端子扭力,同时凹槽的设置可防止蓄电池内的酸液沿着铜芯杆表面回流溢出。


