授权公布号:CN210690311U
一种铅蓄电池极板孔隙率检测装置
有效
申请
2019-09-28
申请公布
1970-01-01
授权
2020-06-05
预估到期
2029-09-28
| 申请号 | CN201921635831.0 |
| 申请日 | 2019-09-28 |
| 授权公布号 | CN210690311U |
| 授权公告日 | 2020-06-05 |
| 分类号 | G01N5/02;G01N15/08 |
| 分类 | 测量;测试; |
| 申请人名称 | 江西京九电源科技有限公司 |
| 申请人地址 | 江西省九江市永修县云山经济开发区星火工业园 |
专利法律状态
2023-12-29
专利申请权、专利权的转移
状态信息
专利权的转移;IPC(主分类):G01N5/02;专利号:ZL2019216358310;登记生效日:20231212;变更事项:专利权人;变更前权利人:江西京九电源科技有限公司;变更后权利人:江西京九电源(九江)有限公司;变更事项:地址;变更前权利人:330000 江西省南昌市南昌县小蓝经济开发区富山一路1388号;变更后权利人:332000 江西省九江市永修县云山经济开发区星火工业园
2022-08-12
专利权质押合同登记的生效、变更及注销
状态信息
专利权质押合同登记的注销;IPC(主分类):G01N5/02;授权公告日:20200605;申请日:20190928;登记号:Y2021980003441;出质人:江西京九电源科技有限公司;质权人:交通银行股份有限公司江西省分行;解除日:20220725
2021-05-28
专利权质押合同登记的生效、变更及注销
状态信息
专利权质押合同登记的生效;IPC(主分类):G01N5/02;登记号:Y2021980003441;登记生效日:20210510;出质人:江西京九电源科技有限公司;质权人:交通银行股份有限公司江西省分行;实用新型名称:一种铅蓄电池极板孔隙率检测装置;申请日:20190928;授权公告日:20200605
2020-06-05
授权
状态信息
授权
摘要
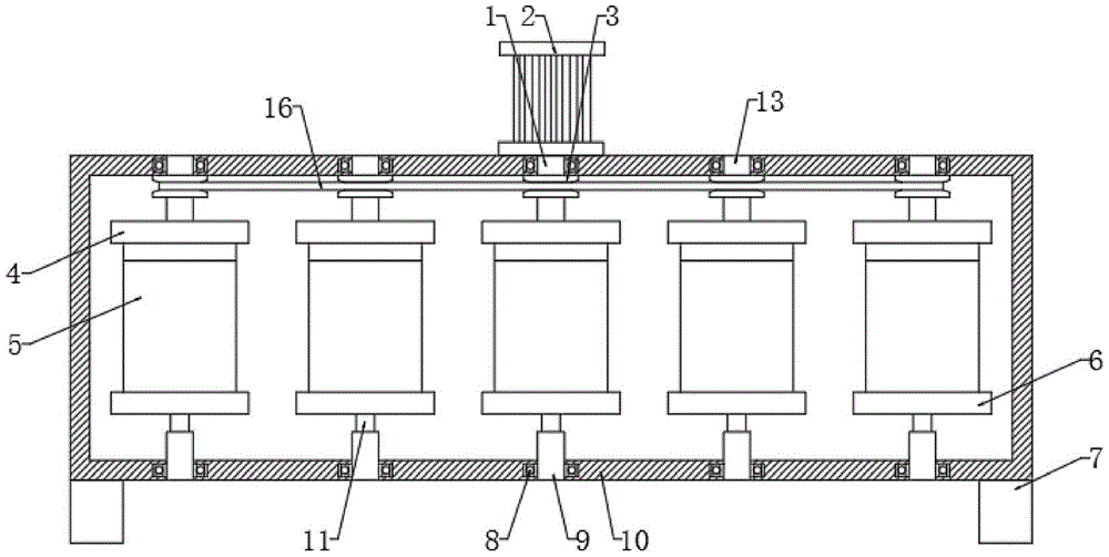
本实用新型提供了一种铅蓄电池极板孔隙率检测装置,包括防尘箱,所述防尘箱的顶部设有电机,所述防尘箱的顶壁和底壁均固定设有滚珠轴承,且所述滚珠轴承设置为多个,所述防尘箱内腔的顶部设有传动杆,所述传动杆的两侧均设有转杆,所述转杆设置为多个,所述传动杆和转杆的外侧均固定设有传动轮,所述传动轮设置为多个,本实用新型多个浸液盒固定后,电机通过传动轴带动传动轮转动,传动轮之间通过皮带传动,多个传动轮带动多个转杆转动,从而使多个浸液盒转动,浸液盒转动时,内部为离心运动,可以使纯水更快的渗入到极板的孔隙中,检测装置可同时对多个极板进行浸液处理,且将极板的静止浸液转变为动态浸液,有效地提高工作效率。


