授权公布号:CN217804403U
一种新型电动车电池组
有效
申请
2022-06-24
申请公布
1970-01-01
授权
2022-11-15
预估到期
2032-06-24
| 申请号 | CN202221607952.6 |
| 申请日 | 2022-06-24 |
| 授权公布号 | CN217804403U |
| 授权公告日 | 2022-11-15 |
| 分类号 | B60L58/10;B60L58/18 |
| 分类 | 一般车辆; |
| 申请人名称 | 漳州市华威电源科技有限公司 |
| 申请人地址 | 福建省漳州市云霄县列屿镇工业集中区 |
专利法律状态
2022-11-15
授权
状态信息
授权
摘要
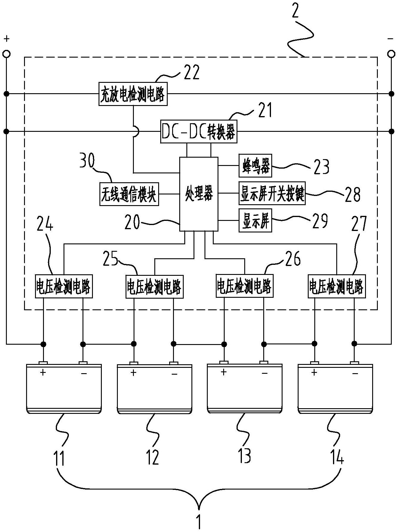
本实用新型涉及一种新型电动车电池组,包括由多个铅酸电池串联连接形成的铅酸电池组,还包括电池控制器;电池控制器包括DC‑DC转换器、处理器、无线通信模块、多路电压检测电路、及用于检测铅酸电池组充放电状态的充放电检测电路;铅酸电池组与充放电检测电路电连接;铅酸电池组还通过DC‑DC转换器与处理器的电源端电连接;充放电检测电路的数量与铅酸电池组的铅酸电池数量相同;铅酸电池组内的各铅酸电池一一对应并联连接一路电压检测电路;充放电检测电路以及各路电压检测电路分别与处理器电连接;无线通信模块与处理器通信连接。通过智能监控铅酸电池组内各铅酸电池在充电或放电时的电压状态,及时发现问题,并向用户发出提示。


