授权公布号:CN115234351B
一种摩托车排气管的防烫伤装置
有效
申请
2022-08-02
申请公布
2022-10-25
授权
2024-02-02
预估到期
2042-08-02
| 申请号 | CN202210921630.7 |
| 申请日 | 2022-08-02 |
| 申请公布号 | CN115234351A |
| 申请公布日 | 2022-10-25 |
| 授权公布号 | CN115234351B |
| 授权公告日 | 2024-02-02 |
| 分类号 | F01N13/14;F01N13/08 |
| 分类 | 一般机器或发动机;一般的发动机装置;蒸汽机; |
| 申请人名称 | 浙江钱江摩托股份有限公司 |
| 申请人地址 | 浙江省台州市温岭市经济开发区 |
专利法律状态
2024-02-02
授权
状态信息
授权
2022-10-25
公布
状态信息
公布
摘要
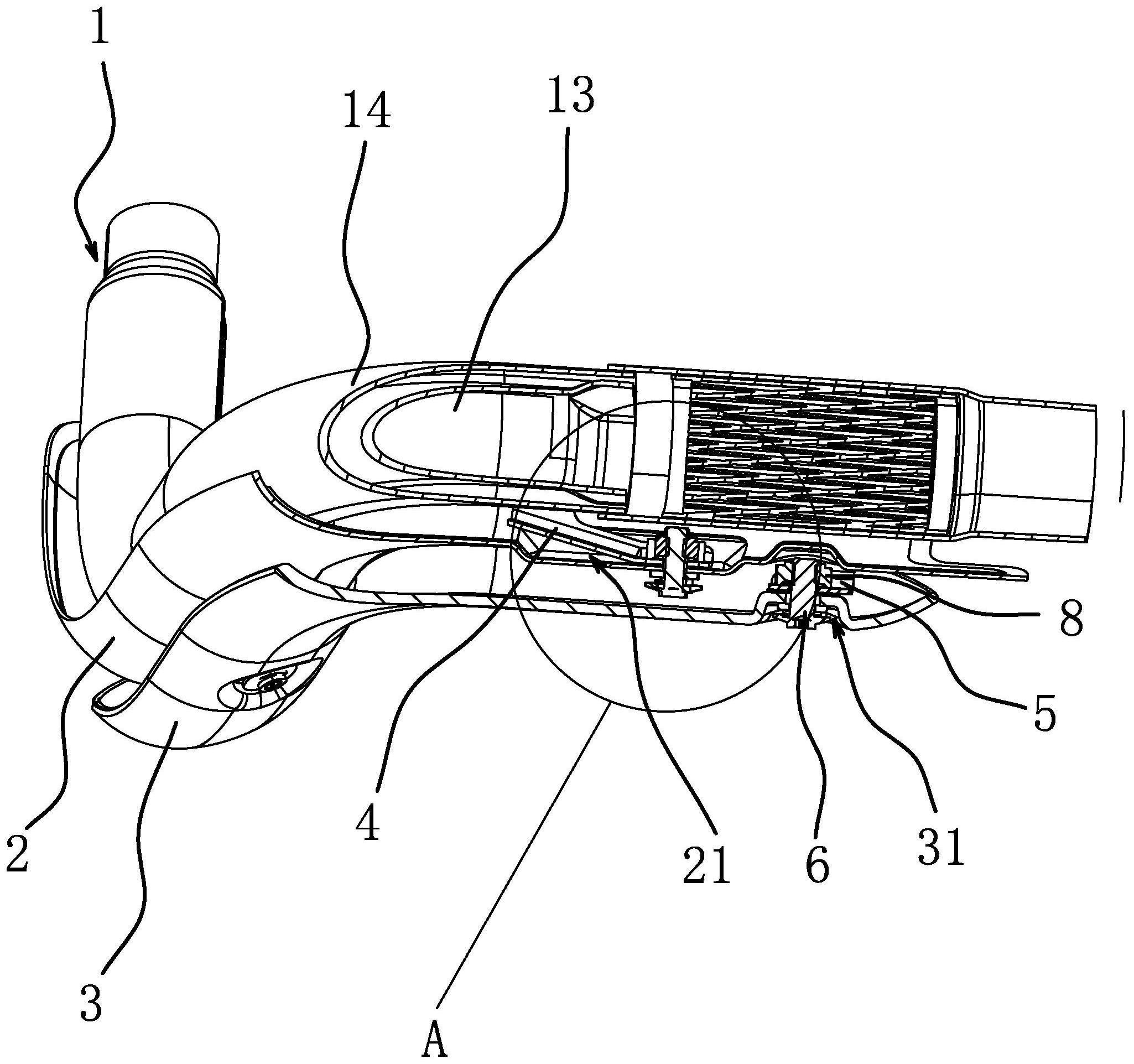
本发明提供了一种摩托车排气管的防烫伤装置,属于摩托车技术领域。它解决了现有排气管的防烫伤装置技术问题。本摩托车排气管的防烫伤装置包括设置于所述排气管外围的内隔热罩板和外隔热罩板,所述内隔热罩板位于该排气管和该外隔热罩板之间,防烫伤装置还包括一端与排气管固连的长臂支架,所述长臂支架的另一端沿该排气管的长度方向朝内隔热罩板所在一侧倾斜设置,所述内隔热罩板的侧壁具有朝外凹陷形成的凹槽,该长臂支架的另一端位于所述凹槽内且与内隔热罩板相连接。本发明在保证空间紧凑的同时实现更优的排气管防烫伤效果。


