授权公布号:CN101933486B
负压式吸料饲料投放机
有效
申请
2010-09-09
申请公布
2011-01-05
授权
2012-06-20
预估到期
2030-09-09
| 申请号 | CN201010277093.4 |
| 申请日 | 2010-09-09 |
| 申请公布号 | CN101933486A |
| 申请公布日 | 2011-01-05 |
| 授权公布号 | CN101933486B |
| 授权公告日 | 2012-06-20 |
| 分类号 | A01K61/02 |
| 分类 | 农业;林业;畜牧业;狩猎;诱捕;捕鱼; |
| 申请人名称 | 广州市中浪机械科技有限公司 |
| 申请人地址 | 广东省广州市白云区太和镇夏良六社坡头厂 |
专利法律状态
2012-06-20
授权
状态信息
授权
2011-03-02
实质审查的生效
状态信息
实质审查的生效IPC(主分类):A01K 61/02申请日:20100909
2011-01-05
公布
状态信息
公开
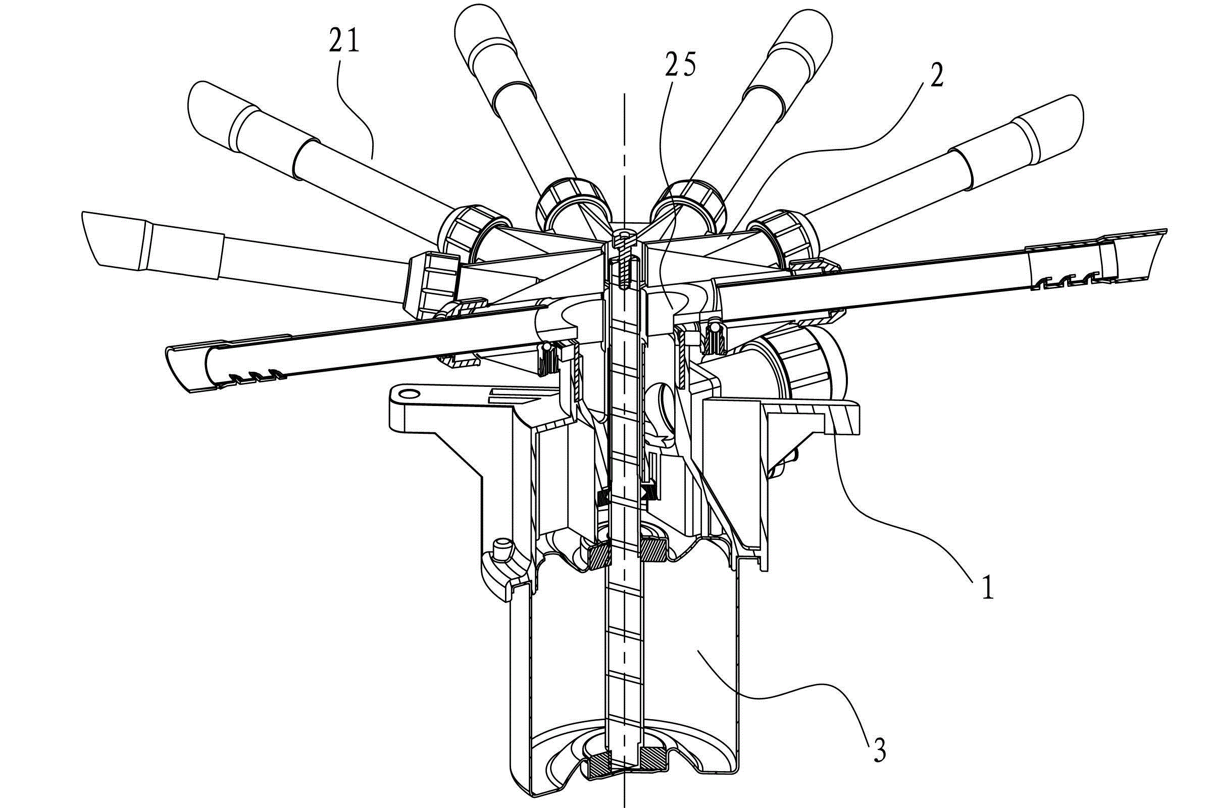
摘要
本发明公开了一种负压式吸料饲料投放机,其包括设有容料腔的进料器和设有出料通道的出料器,出料器由旋转电动机带动旋转,进料器与外设的饲料投放装置的送料管联接。当开动旋转电动机时,出料器高速旋转从而使出料通道内形成负压,将容料腔中的饲料吸入并且喷洒出去。本发明极大地拓展了饲料的投放范围,达到喷洒饲料时全方位无死角,喷洒区域远远超过传统的饲料投放机,并且本发明结构简单,装配简易,对水域适应性强,广泛用于各类水产养殖场地的饲料投放。


