授权公布号:CN112385602B
一种叶轮式增氧机
有效
申请
2020-08-11
申请公布
2021-02-23
授权
2023-01-13
预估到期
2040-08-11
| 申请号 | CN202010800237.3 |
| 申请日 | 2020-08-11 |
| 申请公布号 | CN112385602A |
| 申请公布日 | 2021-02-23 |
| 授权公布号 | CN112385602B |
| 授权公告日 | 2023-01-13 |
| 分类号 | A01K63/04;H02K7/116;H02K5/16;H02K5/22;H02K5/10 |
| 分类 | 农业;林业;畜牧业;狩猎;诱捕;捕鱼; |
| 申请人名称 | 浙江富地机械有限公司 |
| 申请人地址 | 浙江省台州市路桥区卖芝桥东路东段 |
专利法律状态
2023-01-13
授权
状态信息
授权
2021-02-23
公布
状态信息
公布
摘要
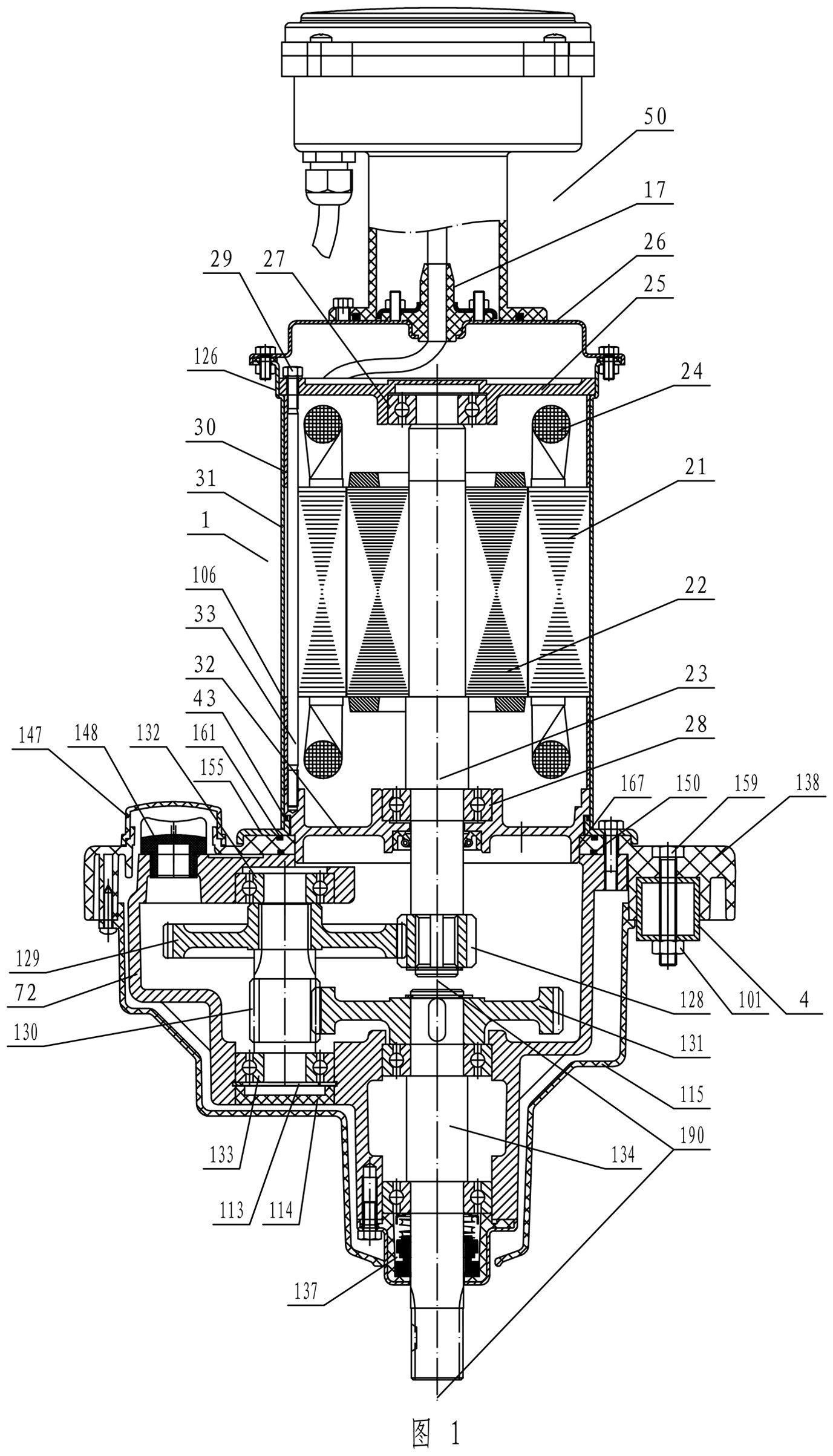
本发明涉及一种叶轮式增氧机,主要包括电机、减速箱、浮体,支撑杆及叶轮,所述的电机下部设置有支承盘,所述的支承盘设置在减速箱的箱体上,所述支撑杆的内端连接支承盘用螺栓紧固,支撑杆的外端连接浮体,整机靠浮体浮在水面;工作时电机通过减速箱减速后带动叶轮旋转增氧。


