授权公布号:CN208751787U
一种用于压力表测试的快速锁紧机构
有效
申请
2018-10-15
申请公布
1970-01-01
授权
2019-04-16
预估到期
2028-10-15
| 申请号 | CN201821669287.7 |
| 申请日 | 2018-10-15 |
| 授权公布号 | CN208751787U |
| 授权公告日 | 2019-04-16 |
| 分类号 | G01L27/00 |
| 分类 | 测量;测试; |
| 申请人名称 | 雷尔达仪表有限公司 |
| 申请人地址 | 浙江省温州市乐清市北白象镇大新村大新兴东路29号 |
专利法律状态
2019-06-18
专利申请权、专利权的转移
状态信息
专利权的转移;IPC(主分类):G01L 27/00;专利号:ZL2018216692877;登记生效日:20190530;变更事项:专利权人;变更前权利人:黄勤俭;变更后权利人:雷尔达仪表有限公司;变更事项:地址;变更前权利人:325600 浙江省温州市乐清市北白象镇大星村;变更后权利人:325600 浙江省温州市乐清市北白象镇大新村大新兴东路29号
2019-04-16
实用新型专利权授予
状态信息
授权
摘要
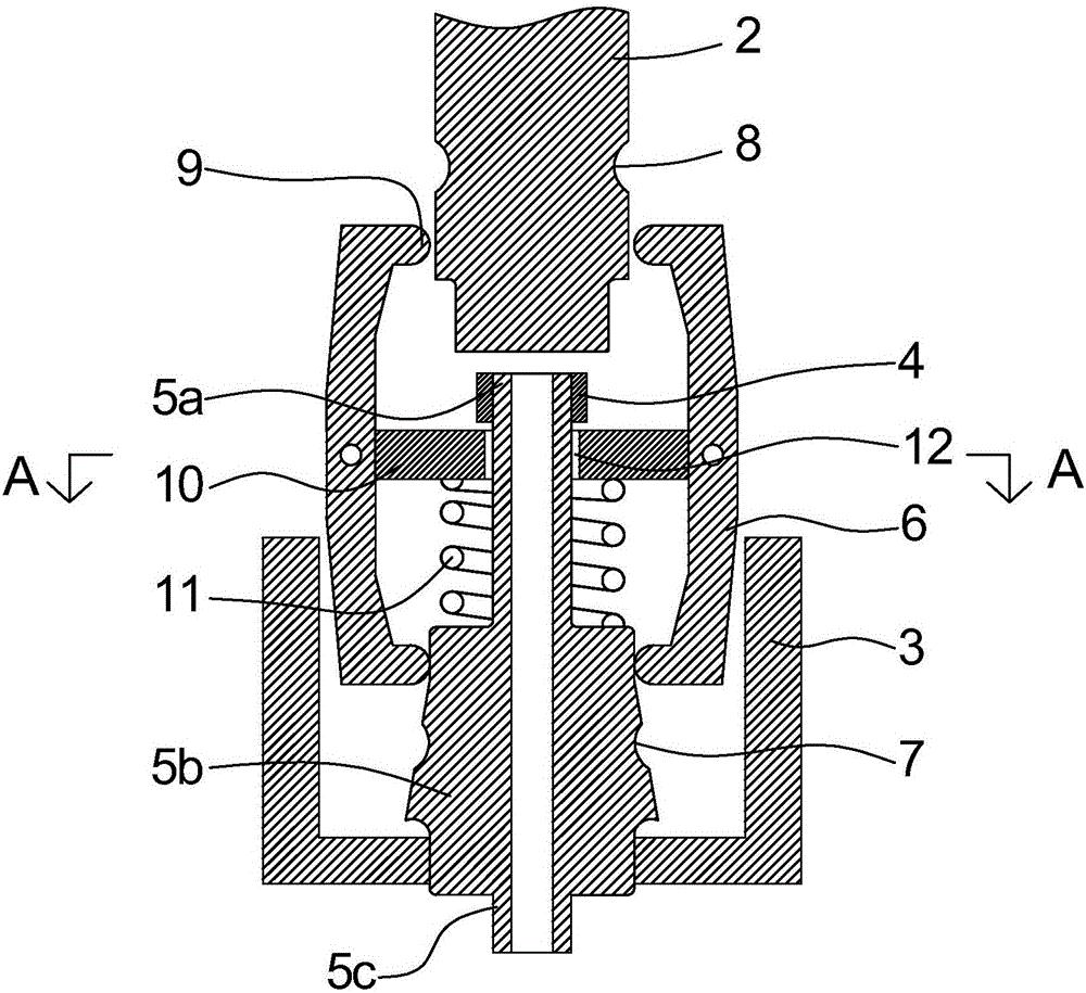
本实用新型公开了一种用于压力表测试的快速锁紧机构,包括仪表头和连接头,所述连接头包括一体成型的第一窄部、宽部和第二窄部,所述宽部采用圆锥形结构,所述第一窄部和第二窄部采用圆柱形结构,所述第一窄部的外表面端口处周向胶合有一圈密封橡胶环,所述第一窄部的外表面间隙套设有压块。本实用新型采用了弹性自锁紧机构,当仪表头与连接头连接的时候,通过密封圈可以有效的密封,防止泄露,同时当仪表头完全插入的时候,抵块可在外套筒的抵押下,依照杠杆原理抵押在仪表头上,对其进行锁紧,有效的解决了传统技术中采用螺纹拧紧连接不便,且对于频繁安装拆卸测试时密封性不良的问题。


