授权公布号:CN217818413U
用于平整度和间隙测量的千分表
有效
申请
2022-08-11
申请公布
1970-01-01
授权
2022-11-15
预估到期
2032-08-11
| 申请号 | CN202222116364.9 |
| 申请日 | 2022-08-11 |
| 授权公布号 | CN217818413U |
| 授权公告日 | 2022-11-15 |
| 分类号 | G01B3/18;G01B5/14;G01B5/28 |
| 分类 | 测量;测试; |
| 申请人名称 | 马尔精密量仪(苏州)有限公司 |
| 申请人地址 | 江苏省苏州市工业园区苏虹中路399号 |
专利法律状态
2022-11-15
授权
状态信息
授权
摘要
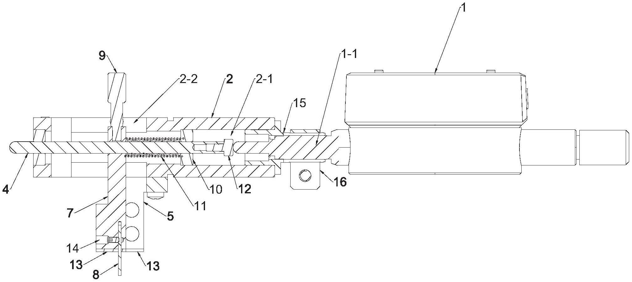
本实用新型公开了用于平整度和间隙测量的千分表,包括千分表,其特征在于,还包括测量机构,所述测量机构包括:外壳,其一端与所述千分表相连接;平整度测量组件,包括安装在所述外壳远离所述千分表一端的固定测头组件、可移动安装在所述外壳内的移动测头,所述移动测头沿所述千分表的测杆的长度方向延伸且一端与所述测杆相抵接,所述移动测头另一端延伸至所述外壳外;间隙测量组件,包括安装在所述外壳上的固定测针组件、安装在所述移动测头上的移动测针,当所述移动测头与所述固定测头组件位于同一平面时,所述移动测针与所述固定测针组件位于同一平面。本实用新型提供的用于平整度和间隙测量的千分表,结构简单,操作便捷。


