授权公布号:CN217327235U
一种钻杆码垛箱及应用该钻杆码垛箱的钻机
有效
申请
2022-04-26
申请公布
1970-01-01
授权
2022-08-30
预估到期
2032-04-26
| 申请号 | CN202220989844.3 |
| 申请日 | 2022-04-26 |
| 授权公布号 | CN217327235U |
| 授权公告日 | 2022-08-30 |
| 分类号 | E21B19/14 |
| 分类 | 土层或岩石的钻进;采矿; |
| 申请人名称 | 光力科技股份有限公司 |
| 申请人地址 | 河南省郑州市高新开发区长椿路10号 |
专利法律状态
2022-08-30
授权
状态信息
授权
摘要
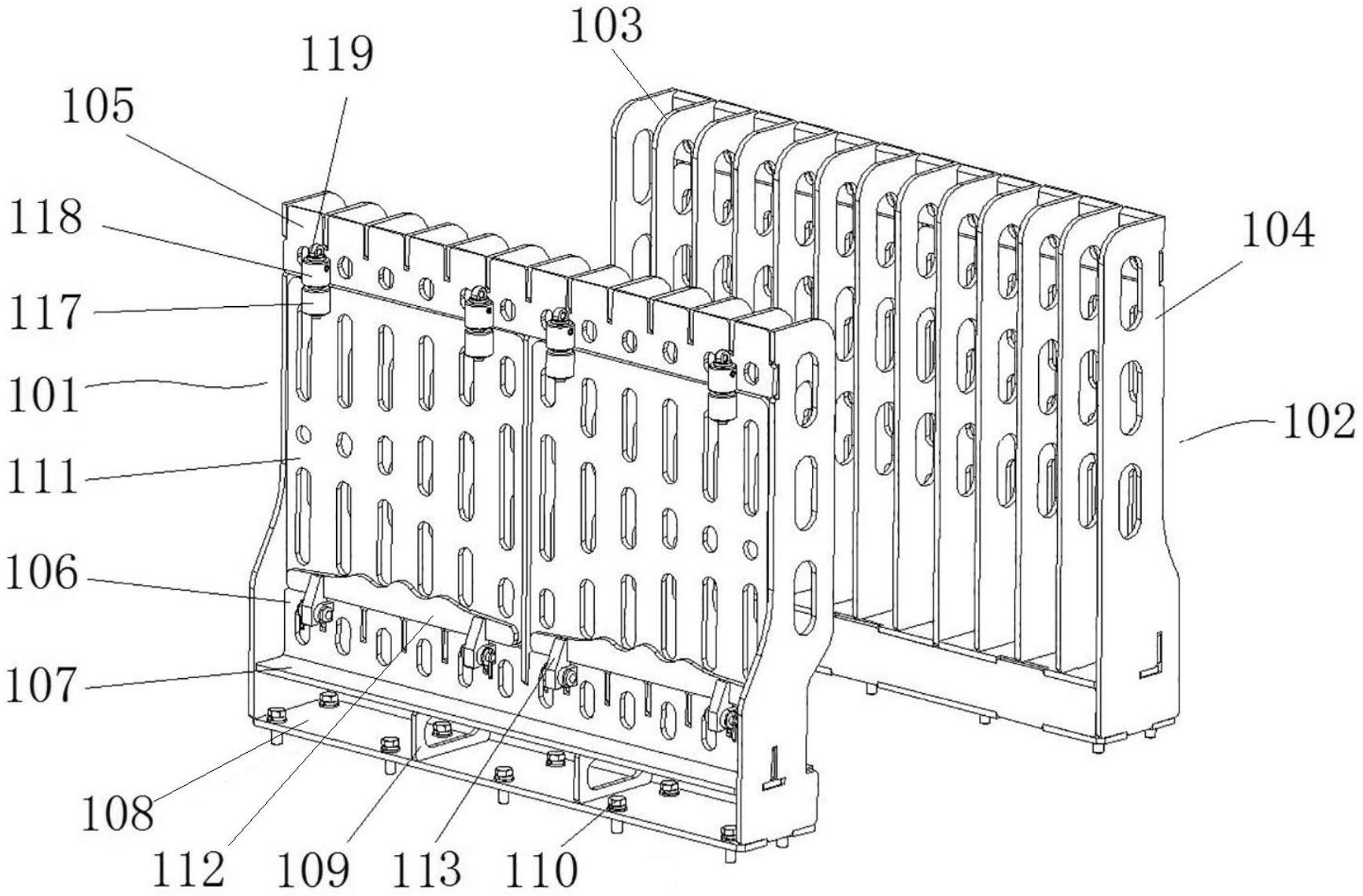
本实用新型涉及煤矿钻机技术领域,本实用新型的目的在于提供一种钻杆码垛箱及应用该钻杆码垛箱的钻机,以解决现有技术中钻杆箱整体更换过程繁琐、更换成本较高以及钻机供应钻杆缓慢、供应方式单一的技术问题。钻机包括机架、钻杆码垛箱、动力头,钻杆码垛箱包括两个格栅单元:前格栅和后格栅,前格栅和后格栅均与机架可拆连接;动力头处于钻杆码垛箱的右侧;格栅单元包括顶梁、底梁、隔板、侧门以及左右两侧的立板,顶梁、底梁连接在两立板之间,形成框架结构;相邻隔板之间以及立板与相邻的隔板之间形成储存仓,顶梁、底梁与两侧的立板围成侧面入口,供钻杆进入储存仓;侧门下端转动装配在竖向支撑板上,侧门上端与顶梁之间设有门锁结构。


