授权公布号:CN213455756U
一种测量信号稳定的磁致伸缩液位计
有效
申请
2020-11-23
申请公布
1970-01-01
授权
2021-06-15
预估到期
2030-11-23
| 申请号 | CN202022722299.5 |
| 申请日 | 2020-11-23 |
| 授权公布号 | CN213455756U |
| 授权公告日 | 2021-06-15 |
| 分类号 | G01F23/72 |
| 分类 | 测量;测试; |
| 申请人名称 | 武汉海德龙仪表科技有限公司 |
| 申请人地址 | 湖北省武汉市东西湖区金山大道花园路8号 |
专利法律状态
2021-06-15
授权
状态信息
授权
摘要
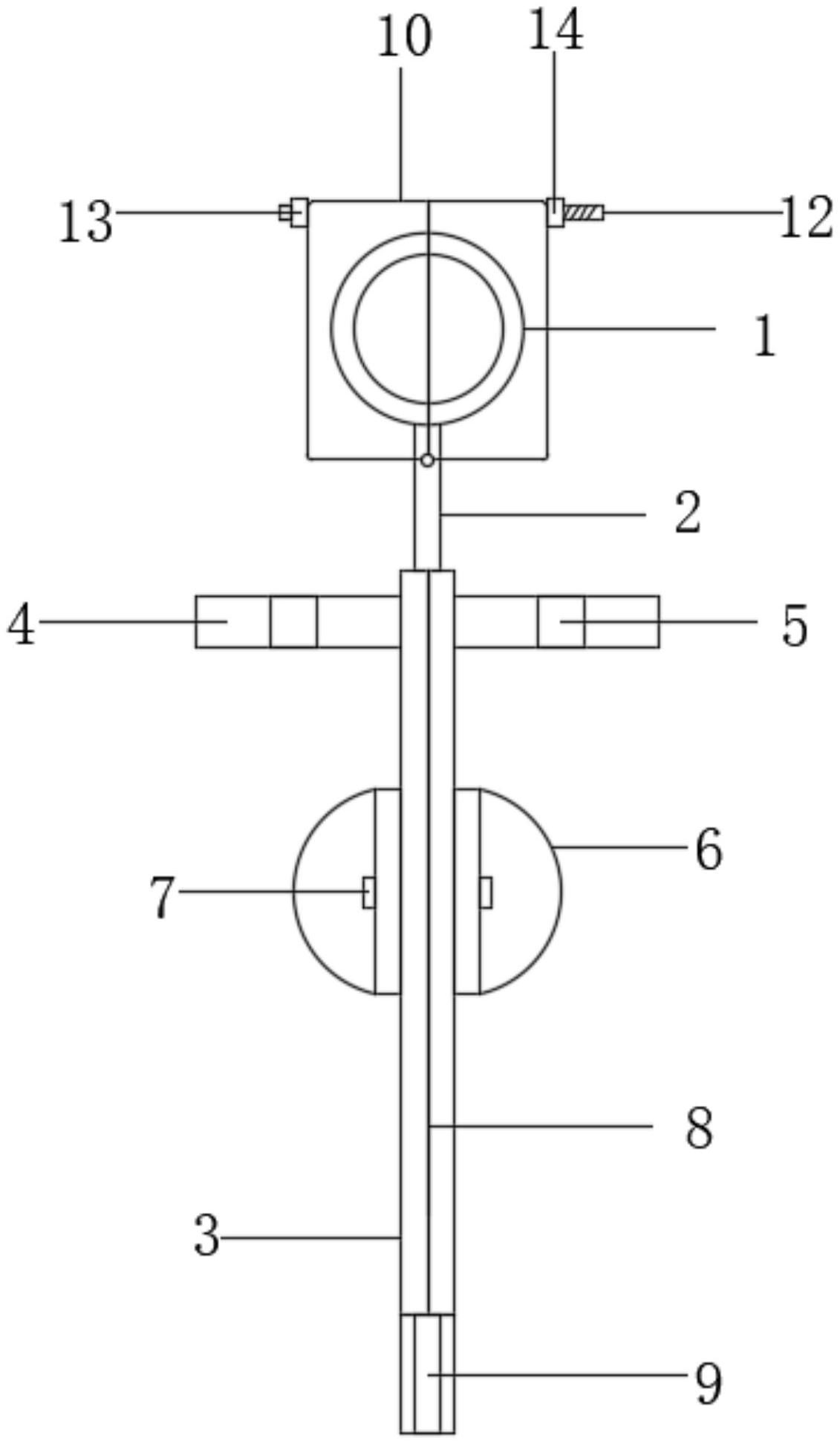
本实用新型公开了一种测量信号稳定的磁致伸缩液位计,涉及磁致伸缩液位计领域,针对现有磁致伸缩液位计的弹簧为普通弹簧,当弹簧拉伸长度变化时,波导丝上受到的拉力也随之变化,从而影响测量时的稳定性的问题,现提出如下方案,包括表头,所述表头的底端固定连接有固定杆,所述固定杆的底端固定连接有表杆,所述表杆的内部安装有波导丝,所述波导丝的底端安装有恒力弹簧,所述表杆的外部固定连接有固定块,所述固定块的内部开设有空腔,所述空腔的内部固定套设有磁铁。本实用新型不仅方便了磁致伸缩液位计在使用时的信号稳定,还方便了磁致伸缩液位计平时的防护,有多种用途,适合市场使用。


