授权公布号:CN219799496U
数据卡终端MMI自动检测装置及系统
有效
申请
2023-03-09
申请公布
1970-01-01
授权
2023-10-03
预估到期
2033-03-09
| 申请号 | CN202320525978.4 |
| 申请日 | 2023-03-09 |
| 授权公布号 | CN219799496U |
| 授权公告日 | 2023-10-03 |
| 分类号 | G01R1/02;G01R31/00 |
| 分类 | 测量;测试; |
| 申请人名称 | 深圳长城开发科技股份有限公司 |
| 申请人地址 | 广东省深圳市福田区彩田路7006号 |
专利法律状态
2023-10-03
授权
状态信息
授权
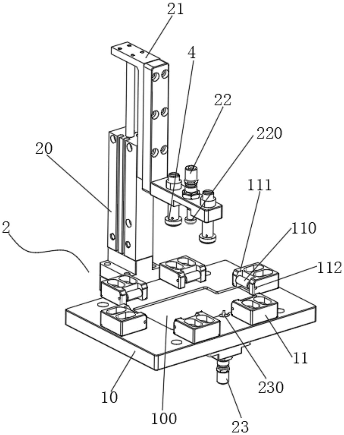
摘要
一种数据卡终端MMI自动检测装置,包括:设置有检测组件(2)的底座(10)以及LED灯组(5),底座设置有定位区(100),在定位区周边设置有多个带有滚动定位柱(110)的调整块(11),检测组件包括压紧气缸(20)、连接件(21)、装在连接件上的POWER气缸(22)以及由POWER气缸驱动作用于被检测数据卡上POWER开关的POWER压头(220)、装在底座底部的RESET气缸(23)以及RESET气缸驱动作用于被检测数据卡上RESET开关的RESET压头(230),还包括电子高清显微镜(3);使用本实用新型具备减轻检测人员的疲劳程度,加快了检测效率,避免了误判检测结果的情况。


