授权公布号:CN112249621B
采集终端生产用铅封上料设备及上料方法
有效
申请
2020-10-10
申请公布
2021-01-22
授权
2022-06-21
预估到期
2040-10-10
| 申请号 | CN202011075747.5 |
| 申请日 | 2020-10-10 |
| 申请公布号 | CN112249621A |
| 申请公布日 | 2021-01-22 |
| 授权公布号 | CN112249621B |
| 授权公告日 | 2022-06-21 |
| 分类号 | B65G27/02;B65G27/10 |
| 分类 | 输送;包装;贮存;搬运薄的或细丝状材料; |
| 申请人名称 | 杭州百富电子技术有限公司 |
| 申请人地址 | 浙江省杭州市杭州经济技术开发区(下沙)12号大街500号 |
专利法律状态
2022-06-21
授权
状态信息
授权
2021-01-22
公布
状态信息
公布
摘要
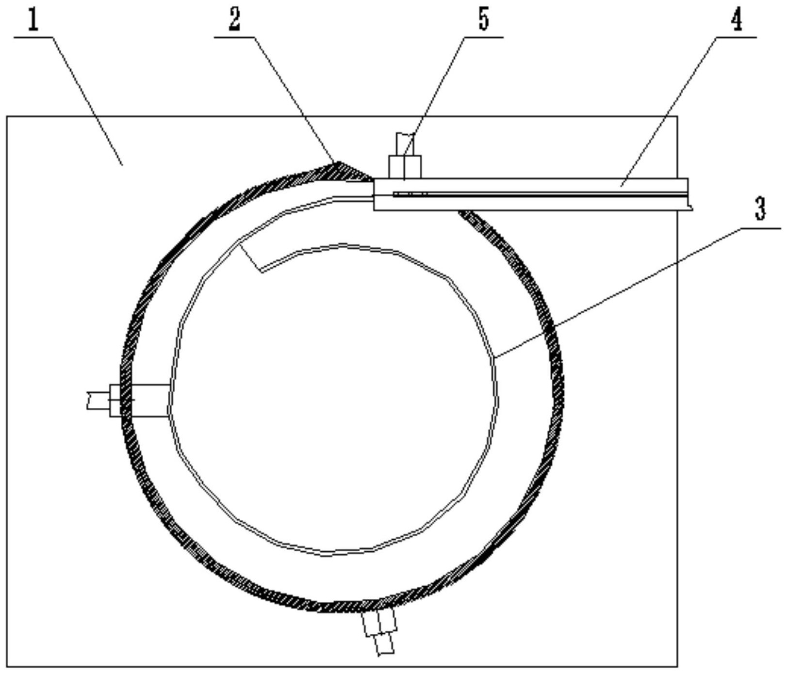
本发明公开采集终端生产用铅封上料设备及上料方法,包括支架、铅封排序装置、筛选斜槽、铅封、和铅封方位调整装置,通过在筛选斜槽的一侧滑轨上设置摩擦条,而在筛选斜槽弯曲段上设置了一对挡料条一与挡料条二,通过摩擦条的设置增加与铅封的摩擦力,在摩擦力的作用下,铅封在另一侧受到的摩擦力较小,铅封会发生一定的旋转,这样会增加铅封通过挡料条一的几率,当铅封槽的方向与挡料条一方向一致,铅封能够顺利通过挡料条一,并经过弯道实现翻转后运出,而如果铅封槽与挡料条一的方向不一致,挡料条一将铅封挡在该位置,由于铅封方位调整装置上的挡片与铅封上端面接触,使铅封绕轴旋转,产生方位的调整,使之可以通过挡料条一顺利排出。


