授权公布号:CN217035568U
一种高可靠断路器的操作机构
有效
申请
2022-03-10
申请公布
1970-01-01
授权
2022-07-22
预估到期
2032-03-10
| 申请号 | CN202220538102.9 |
| 申请日 | 2022-03-10 |
| 授权公布号 | CN217035568U |
| 授权公告日 | 2022-07-22 |
| 分类号 | H01H71/10 |
| 分类 | 基本电气元件; |
| 申请人名称 | 常安集团有限公司 |
| 申请人地址 | 浙江省温州市乐清经济开发区纬十七路288号 |
专利法律状态
2022-07-22
授权
状态信息
授权
摘要
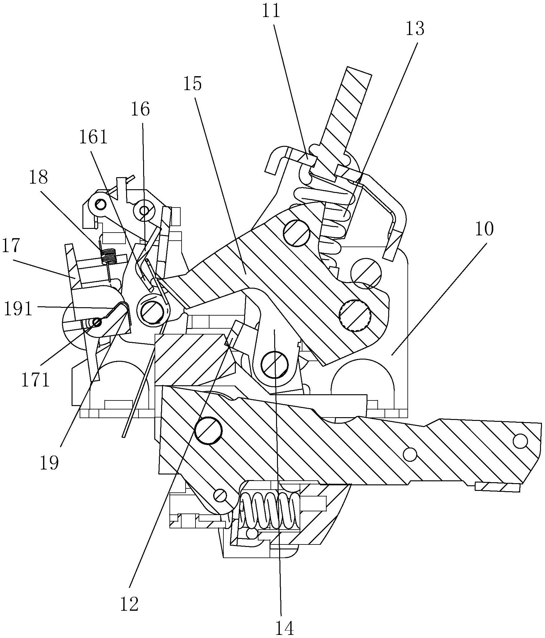
本实用新型涉及一种高可靠断路器的操作机构,包括机构架、转动设置在机构架上的杠杆、上连杆、设置在上连杆与杠杆之间的拉簧、与上连杆联动配合的下连杆、与下连杆联动配合的跳扣、与跳扣相配合的再扣、转动设置在机构架上的牵引杆、设置在牵引杆与机构架之间的复位拉簧,牵引杆上对应再扣处设置有锁定槽,所述的牵引杆上对应锁定槽处设置有小锁扣,所述的小锁扣的一端上具有包裹在锁定槽内的锁定斜面,所述的再扣上设置有与锁定斜面相配合的折弯部,所述的折弯部卡合在锁定斜面上,且构成小锁扣与再扣的限位配合。本实用新型具有结构简单、性能稳定可靠、装配便捷、高可靠的优点。


