授权公布号:CN210429723U
一种带可微调瞬动保护脱扣器的塑壳断路器
有效
申请
2019-11-16
申请公布
1970-01-01
授权
2020-04-28
预估到期
2029-11-16
| 申请号 | CN201921985124.4 |
| 申请日 | 2019-11-16 |
| 授权公布号 | CN210429723U |
| 授权公告日 | 2020-04-28 |
| 分类号 | H01H71/24 |
| 分类 | 基本电气元件; |
| 申请人名称 | 常安集团有限公司 |
| 申请人地址 | 浙江省温州市乐清经济开发区纬十七路288号 |
专利法律状态
2020-04-28
授权
状态信息
授权
摘要
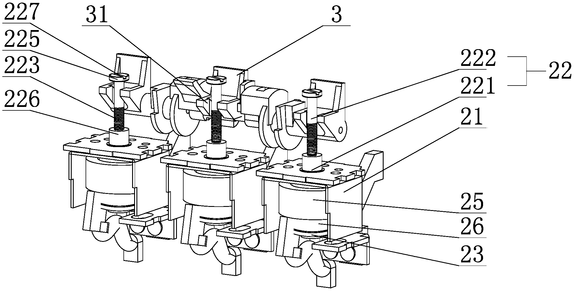
本实用新型涉及一种带可微调瞬动保护脱扣器的塑壳断路器,包括壳体和设置在壳体内的脱扣装置和操作机构,所述脱扣装置包括瞬动保护脱扣器和用于致动操作机构的牵引杆,所述瞬动保护脱扣器包括支架和设置在支架上的动铁芯,所述动铁芯包括联动件和调节杆,所述联动件设置在支架内,所述调节杆的下端形成一段外螺纹,联动件的内部形成一段内螺纹,所述调节杆通过外螺纹与内螺纹的配合连接在联动件上,所述调节杆的上端形成按压端,所述调节杆通过按压端与牵引杆形成联动。本实用新型塑壳断路器的动铁芯采用螺纹调节的结构,方便在校验时调整按压端与牵引杆的距离,从而提高校验效率。


