授权公布号:CN216957942U
一种框架断路器的触头系统
有效
申请
2022-03-23
申请公布
1970-01-01
授权
2022-07-12
预估到期
2032-03-23
| 申请号 | CN202220647604.5 |
| 申请日 | 2022-03-23 |
| 授权公布号 | CN216957942U |
| 授权公告日 | 2022-07-12 |
| 分类号 | H01H73/04 |
| 分类 | 基本电气元件; |
| 申请人名称 | 常安集团有限公司 |
| 申请人地址 | 浙江省温州市乐清经济开发区纬十七路288号 |
专利法律状态
2022-07-12
授权
状态信息
授权
摘要
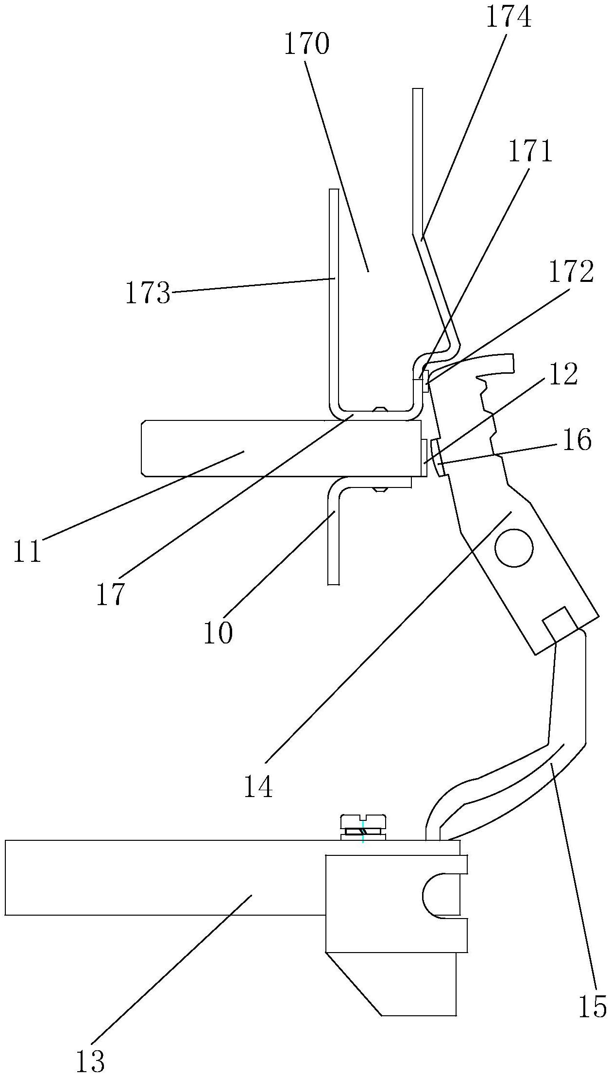
本实用新型涉及一种框架断路器的触头系统,包括支持件、设置在支持件上的静连接板、设置在静连接板上的静触点、动连接板、动触刀、连接在动连接板与动触刀之间的铜编织带、设置在动触刀上且与静触点相配合的动触点,所述的静连接板上对应动触刀的一端处设置有引弧板,所述的引弧板的一端向动触刀方向延伸且形成有接触部,该接触部上设置有静弧触点,所述的动触刀的一端上具有与静弧触点相配合的弧形凸起部。本实用新型具有结构简单、性能稳定可靠、分断能力高、使用寿命长的优点。


