授权公布号:CN214378236U
一种具有束线功能的交流接触器
有效
申请
2021-01-23
申请公布
1970-01-01
授权
2021-10-08
预估到期
2031-01-23
| 申请号 | CN202120187572.0 |
| 申请日 | 2021-01-23 |
| 授权公布号 | CN214378236U |
| 授权公告日 | 2021-10-08 |
| 分类号 | H01H50/02;H01H50/14 |
| 分类 | 基本电气元件; |
| 申请人名称 | 常安集团有限公司 |
| 申请人地址 | 浙江省温州市乐清经济开发区纬十七路288号 |
专利法律状态
2021-10-08
授权
状态信息
授权
摘要
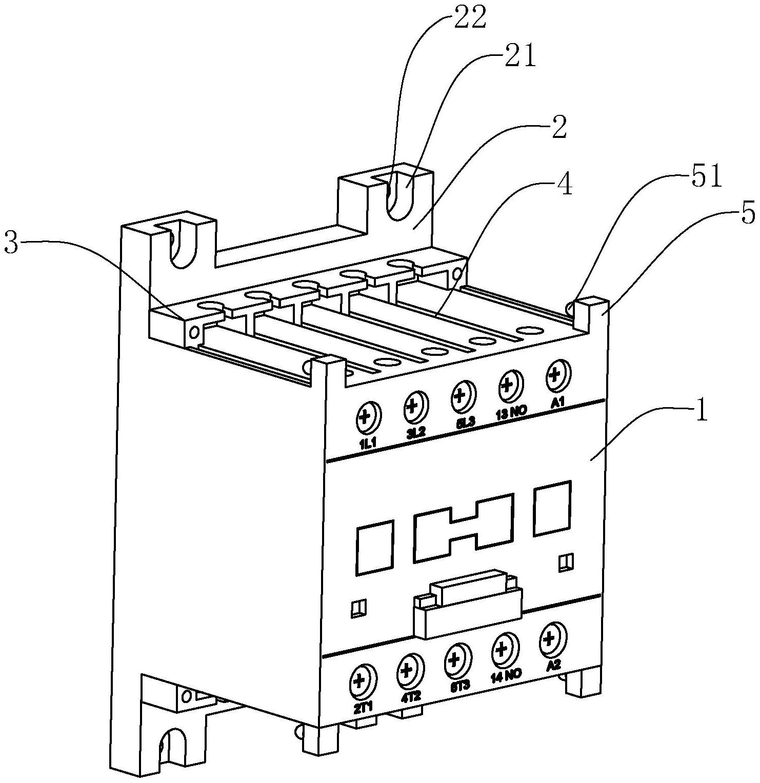
本实用新型公开了一种具有束线功能的交流接触器,包括交流接触器本体,交流接触器本体沿垂直方向延伸形成安装板,交流接触器本体顶部滑动安装有束线板,束线板一侧与安装板抵接,束线板包括顶板、若干分隔板以及束线孔,顶板上表面开设有若干束线孔,束线孔位于远离安装板的一侧,顶板的底部均匀分布有若干分隔板,且位于两侧的分隔板侧壁设有插接孔,交流接触器本体顶部设有与分隔板形状适配的若干滑槽,分隔板滑动连接于滑槽内,交流接触器本体顶部远离安装板和束线板的一端设有插接块,插接块朝向束线板一侧延伸形成球形端部,球形端部与插接孔卡接配合;本实用新型具有整理电线、防止电线缠绕的有益效果。


