授权公布号:CN214100831U
一种自恢复过欠压保护器
有效
申请
2021-01-22
申请公布
1970-01-01
授权
2021-08-31
预估到期
2031-01-22
| 申请号 | CN202120176254.4 |
| 申请日 | 2021-01-22 |
| 授权公布号 | CN214100831U |
| 授权公告日 | 2021-08-31 |
| 分类号 | H02H3/20;H02H3/24;H02H3/06;H05K5/02 |
| 分类 | 发电、变电或配电; |
| 申请人名称 | 常安集团有限公司 |
| 申请人地址 | 浙江省温州市乐清经济开发区纬十七路288号 |
专利法律状态
2021-10-01
专利权质押合同登记的生效、变更及注销
状态信息
专利权质押合同登记的生效;IPC(主分类):H02H3/20;登记号:Y2021330001636;登记生效日:20210915;出质人:常安集团有限公司;质权人:中国农业银行股份有限公司乐清市支行;实用新型名称:一种自恢复过欠压保护器;申请日:20210122;授权公告日:20210831
2021-08-31
授权
状态信息
授权
摘要
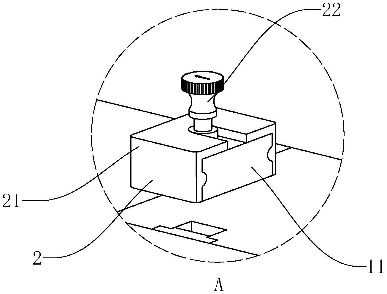
本实用新型公开了一种自恢复过欠压保护器,包括壳体,壳体上设有用于将相邻两个过欠压保护器连接在一起的连接组件,壳体顶部设置有至少一对左右对称设置的矩形块,矩形块前后两侧分别设有滑槽,连接组件包括连接盖以及操作杆,连接盖相邻滑槽一侧开设有形状与矩形块外表面贴合的置容腔,置容腔内壁对应矩形块位置设有形状与滑槽适配的滑块,连接盖滑动安装于相邻的两个过欠压保护器的矩形块上,连接盖与矩形块过盈配合,连接盖顶部一侧开设有U型槽,操作杆限位于U型槽内;本实用新型能够将两个相邻的过欠压保护器固定为一体,具有连接稳固、结构简单、拆装方便的有益效果。


