授权公布号:CN218887083U
小型断路器
有效
申请
2022-11-09
申请公布
1970-01-01
授权
2023-04-18
预估到期
2032-11-09
| 申请号 | CN202222983102.2 |
| 申请日 | 2022-11-09 |
| 授权公布号 | CN218887083U |
| 授权公告日 | 2023-04-18 |
| 分类号 | H01H71/02;H01H71/08 |
| 分类 | 基本电气元件; |
| 申请人名称 | 常安集团有限公司 |
| 申请人地址 | 浙江省温州市乐清经济开发区纬十七路288号 |
专利法律状态
2023-04-18
授权
状态信息
授权
摘要
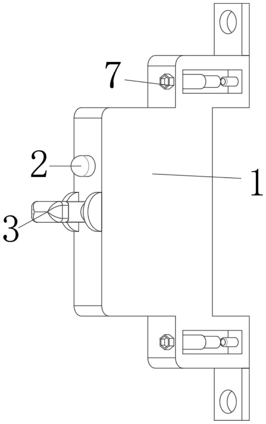
本实用新型公开了小型断路器,其中,由开关和控制开关组成,所述开关一侧开设有两凹槽,所述开关侧壁设置有两螺母,两所述螺母一端均固定连接有螺纹杆,两所述螺纹杆一端均穿过开关中部延伸至凹槽内部,两所述螺纹杆一端均开设有定位槽,两所述凹槽内部均固定连接有定位柱;所述开关侧壁固定连接有两卡板,两所述卡板中部均开设有定位孔,两所述定位孔中部分别与两定位柱外部相互配合。通过上述结构,利用定位柱与卡板进行配合,再利用螺纹杆进行定位,使多组断路器在安装的时候比较稳定,避免发生晃动,使多个断路器在组合后不会发生松动,在使用的过程中能够保障安全。


