授权公布号:CN217361330U
一种增强油浸配电变压器侧面抗短路能力的结构
有效
申请
2022-04-22
申请公布
1970-01-01
授权
2022-09-02
预估到期
2032-04-22
| 申请号 | CN202220940207.7 |
| 申请日 | 2022-04-22 |
| 授权公布号 | CN217361330U |
| 授权公告日 | 2022-09-02 |
| 分类号 | H01F27/26;H01F27/30;H01F27/32 |
| 分类 | 基本电气元件; |
| 申请人名称 | 山东达驰电气有限公司 |
| 申请人地址 | 山东省菏泽市成武县东郊经济技术开发区 |
专利法律状态
2022-09-02
授权
状态信息
授权
摘要
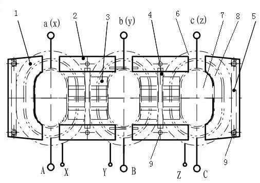
本实用新型的增强油浸配电变压器侧面抗短路能力的结构,变压器包括三柱两窗式铁芯,以及套在铁芯上的线圈,低压线圈套在高压线圈的内侧,铁芯的上下两端安装有铁芯夹件,将铁芯夹紧;A、B相高压线圈的立面之间安装相间隔板,B、C相高压线圈的立面之间安装相间隔板,A、C相高压线圈外侧的立面分别安装绝缘加强板;A、C相线圈的上下两端安装有边部端面压板,A、B相线圈的端面之间安装上下两块相间端面压板,B、C相线圈的端面之间安装上下两块相间端面压板,A、B、C三相线圈的端面还安装铁轭隔板。本实用新型增强了三相中A、C绕组外侧的抗短路能力,以及加强了相间抗短路能力,提高了变压器的性能。


