授权公布号:CN210616328U
一种燃气表壳卡预紧工装
有效
申请
2019-10-22
申请公布
1970-01-01
授权
2020-05-26
预估到期
2029-10-22
| 申请号 | CN201921772699.8 |
| 申请日 | 2019-10-22 |
| 授权公布号 | CN210616328U |
| 授权公告日 | 2020-05-26 |
| 分类号 | B25B11/02;B23P21/00 |
| 分类 | 手动工具;轻便机动工具;手动器械的手柄;车间设备;机械手; |
| 申请人名称 | 杭州贝特仪表有限公司 |
| 申请人地址 | 浙江省杭州市余杭区五常街道五常大道181号 |
专利法律状态
2020-05-26
授权
状态信息
授权
摘要
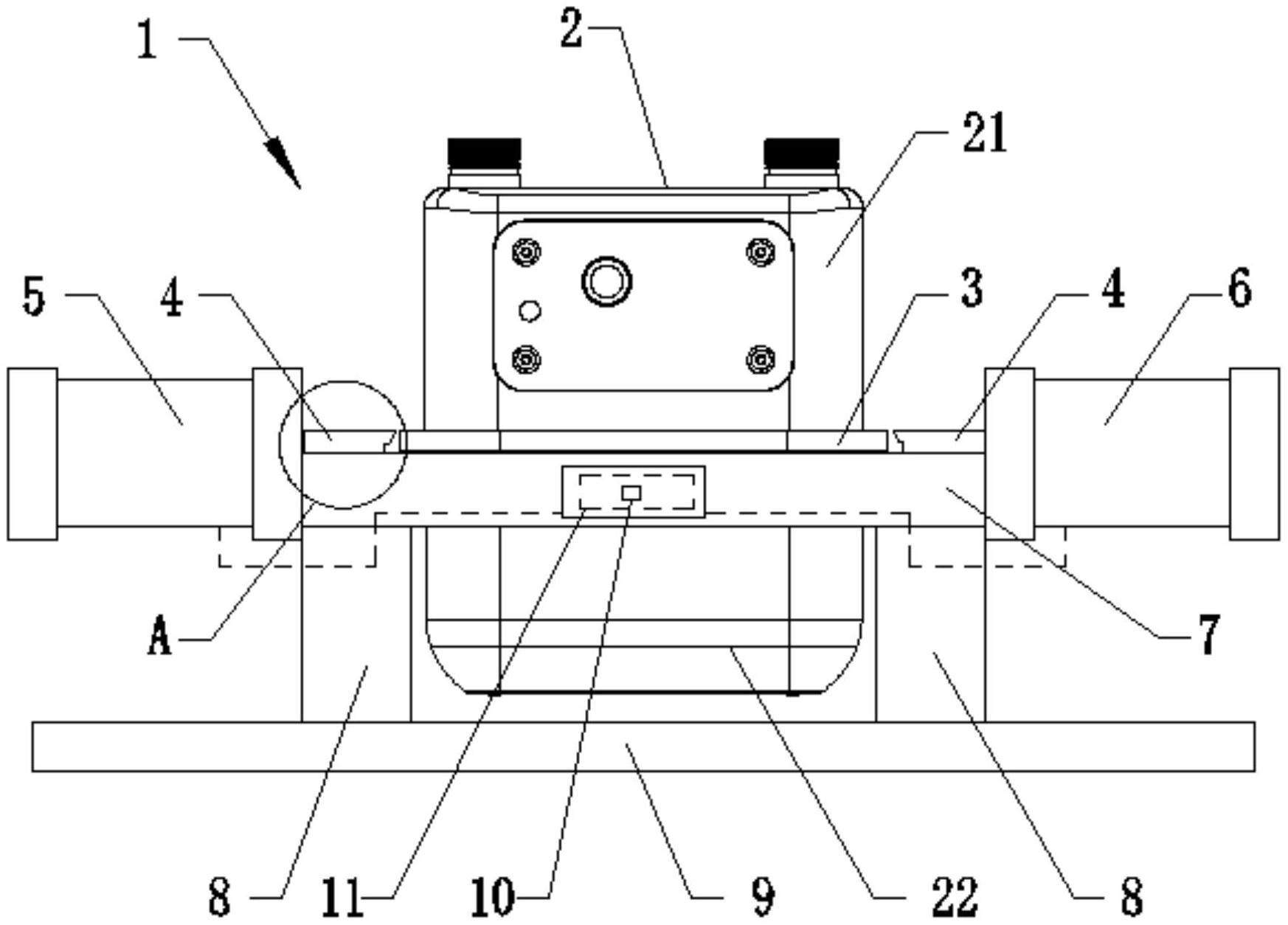
本实用新型涉及燃气表生产设备技术领域,具体涉及一种燃气表壳卡预紧工装,它包括壳卡预紧工装本体,该壳卡预紧工装本体包括底座,该底座的顶面两侧对应有支撑板,两个支撑板的顶端安装有定位板;所述定位板的顶面中部设置有与燃气表的壳体相配合的槽孔;燃气表的壳体的上壳和下壳之间连接处上套设有壳卡;所述定位板的顶面左右两侧对应设置有左水平滑槽和右水平滑槽;所述左水平滑槽和右水平滑槽安装有滑块;所述定位板的左右两侧面上安装有左气缸和右气缸;所述左气缸和右气缸的活塞杆分别与左水平滑槽和右水平滑槽上的滑块的外侧面中部相连;它具有使用方便,能够保证大壳垫不会发生偏移,极大地提高了工作效率。


