授权公布号:CN214162759U
一种燃气表侧盖紧固工装
有效
申请
2020-12-31
申请公布
1970-01-01
授权
2021-09-10
预估到期
2030-12-31
| 申请号 | CN202023303583.5 |
| 申请日 | 2020-12-31 |
| 授权公布号 | CN214162759U |
| 授权公告日 | 2021-09-10 |
| 分类号 | B25B11/00 |
| 分类 | 手动工具;轻便机动工具;手动器械的手柄;车间设备;机械手; |
| 申请人名称 | 杭州贝特仪表有限公司 |
| 申请人地址 | 浙江省杭州市临安市青山湖街道松园街188号1幢(B1) |
专利法律状态
2021-09-10
授权
状态信息
授权
摘要
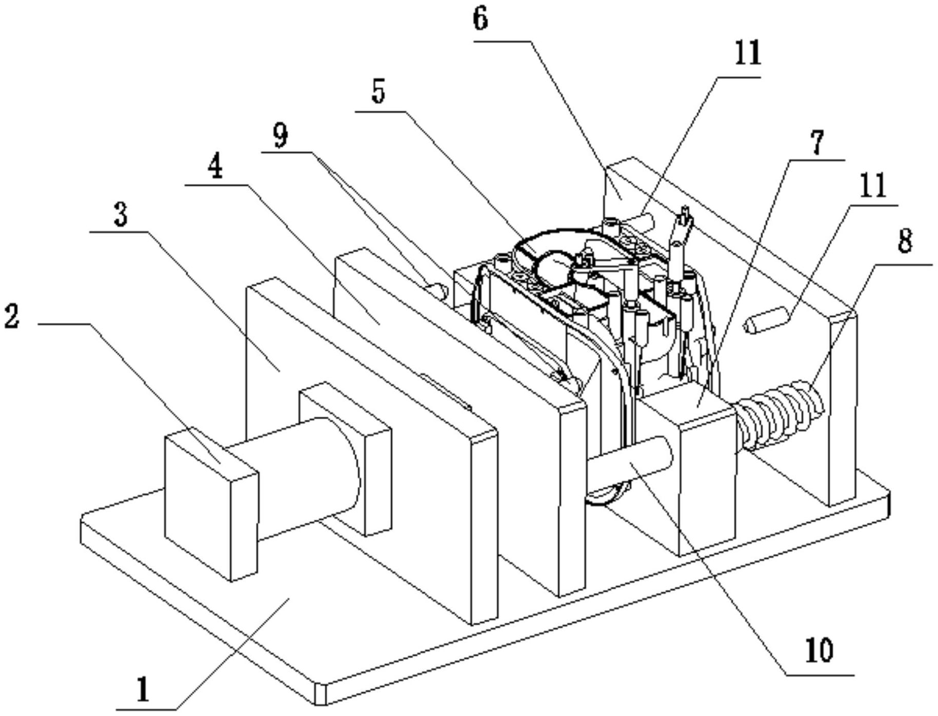
本实用新型涉及燃气表技术领域,具体涉及一种燃气表侧盖紧固工装,它包括侧盖紧固工装本体,该侧盖紧固工装本体包括底座板,该底座板的形状为长方形;所述底座板的顶面左侧设置有气缸固定板,气缸固定板形状为长方形;所述气缸固定板的中部设置有气缸轴杆通孔;所述气缸固定板的左侧中部设置有气缸,气缸的缸轴穿插过气缸轴杆通孔至气缸固定板右侧方;它采用由气缸驱动的前压板,利用前压板的定位柱和后压板上的弹簧,方便控制定位块定向移动,再利用前压板上的凸柱一和后压板上的凸柱二,实现对机芯的左右侧盖的紧压;它具有使用方便,操作简单,能够对机芯的左右侧盖实现紧固,极大地提高了工作效率,也保证的工作质量。


