授权公布号:CN210533460U
一种新型的燃气表出气管构件
有效
申请
2019-10-22
申请公布
1970-01-01
授权
2020-05-15
预估到期
2029-10-22
| 申请号 | CN201921772694.5 |
| 申请日 | 2019-10-22 |
| 授权公布号 | CN210533460U |
| 授权公告日 | 2020-05-15 |
| 分类号 | G01F15/00 |
| 分类 | 测量;测试; |
| 申请人名称 | 杭州贝特仪表有限公司 |
| 申请人地址 | 浙江省杭州市余杭区五常街道五常大道181号 |
专利法律状态
2020-05-15
授权
状态信息
授权
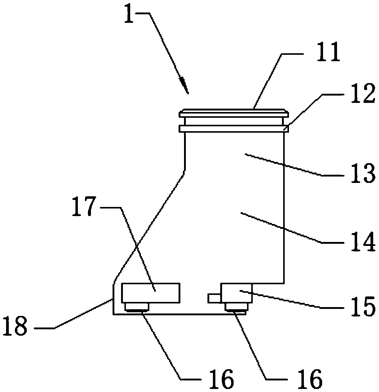
摘要
本实用新型涉及燃气表技术领域,具体涉及一种新型的燃气表出气管构件,它包括出气管构件本体,该出气管构件本体包括上部管体、中部管体、下部管体,中部管体顶端上设置有上部管体,中部管体的底端上设置有下部管体,一体成型形成出气管主管体;所述下部管体与燃气表中的机芯体顶端上的出气口相配合,该下部管体的前后面左侧上部对应设置有水平定位凸条一,该下部管体的前后面右侧端上部对应设置有水平定位凸条二;两个水平定位凸条一的底面和两个水平定位凸条二的底面均设置有过盈柱;它采用在出气管的底部安装有四个过盈柱,采用过盈配合直接压入机芯体上,取消了传统的螺钉固定式;它具有安装便捷,简化了生产工艺,提高了工作效率。


