授权公布号:CN210533459U
一种新型的燃气表摇臂
有效
申请
2019-10-22
申请公布
1970-01-01
授权
2020-05-15
预估到期
2029-10-22
| 申请号 | CN201921772669.7 |
| 申请日 | 2019-10-22 |
| 授权公布号 | CN210533459U |
| 授权公告日 | 2020-05-15 |
| 分类号 | G01F15/00 |
| 分类 | 测量;测试; |
| 申请人名称 | 杭州贝特仪表有限公司 |
| 申请人地址 | 浙江省杭州市余杭区五常街道五常大道181号 |
专利法律状态
2020-05-15
授权
状态信息
授权
摘要
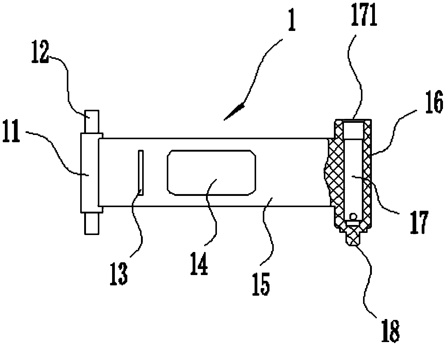
本实用新型涉及燃气表技术领域,具体涉及一种新型的燃气表摇臂,它包括摇臂本体,该摇臂本体包括L形摇臂板,该L形摇臂板由水平板和斜板组成;所述水平板的左端设置有凸柱,凸柱的截面为圆形,该凸柱的顶部、底部对应设置有凸头;所述水平板的前表面中部设置有长方形通孔;所述水平板的前表面上的左侧设置有竖向的凸条;所述斜板右端设置有筒柱,筒柱的截面为圆形,筒柱的顶面中部设置有摇臂孔,摇臂孔的截面为圆形;所述筒柱的底面为封闭状;所述筒柱的底面中部设置有定位柱;它采用取消传统摇臂孔底面的通孔,摇臂孔底面中部设置定位柱,从而能够保证立轴、摇臂孔、定位柱的中心轴线处于同一垂直线上,保证了安装。


