授权公布号:CN213902499U
一种模块组件智能燃气表
有效
申请
2020-12-31
申请公布
1970-01-01
授权
2021-08-06
预估到期
2030-12-31
| 申请号 | CN202023303494.0 |
| 申请日 | 2020-12-31 |
| 授权公布号 | CN213902499U |
| 授权公告日 | 2021-08-06 |
| 分类号 | G01F15/00;G01F15/06 |
| 分类 | 测量;测试; |
| 申请人名称 | 杭州贝特仪表有限公司 |
| 申请人地址 | 浙江省杭州市临安市青山湖街道松园街188号1幢(B1) |
专利法律状态
2021-08-06
授权
状态信息
授权
摘要
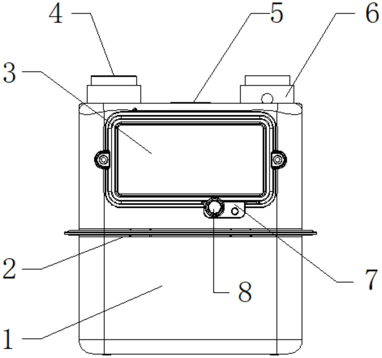
本实用新型涉及燃气表技术领域,具体涉及一种模块组件智能燃气表,它包括燃气表本体,该燃气表本体包括表壳,该表壳内设置有燃气控制组件;所述表壳的前表面上部设置有显示窗;所述表壳的顶面左右两侧设置有进气管口和出气管口;所述表壳的顶面前部中间设置有卡槽;所述表壳的前部的显示窗的底部右侧设置有挡块;所述挡块的前表面左侧设置有模块连接孔口;它通过更换各种智能模块实现不同类型的燃气表进行转换,可以转换为IC卡智能燃气表,NB无线远传智能燃气表,lorawan无线远传智能燃气表等等多种类型的无缝转换对接。


