授权公布号:CN208437773U
一种燃气表壳体生产用切边装置
有效
申请
2018-07-11
申请公布
1970-01-01
授权
2019-01-29
预估到期
2028-07-11
| 申请号 | CN201821095570.3 |
| 申请日 | 2018-07-11 |
| 授权公布号 | CN208437773U |
| 授权公告日 | 2019-01-29 |
| 分类号 | B23D79/04;B23Q3/06 |
| 分类 | 机床;不包含在其他类目中的金属加工; |
| 申请人名称 | 四川鹏翔电子科技有限责任公司 |
| 申请人地址 | 四川省达州市大竹县工业园经开大道3号 |
专利法律状态
2019-01-29
授权
状态信息
授权
摘要
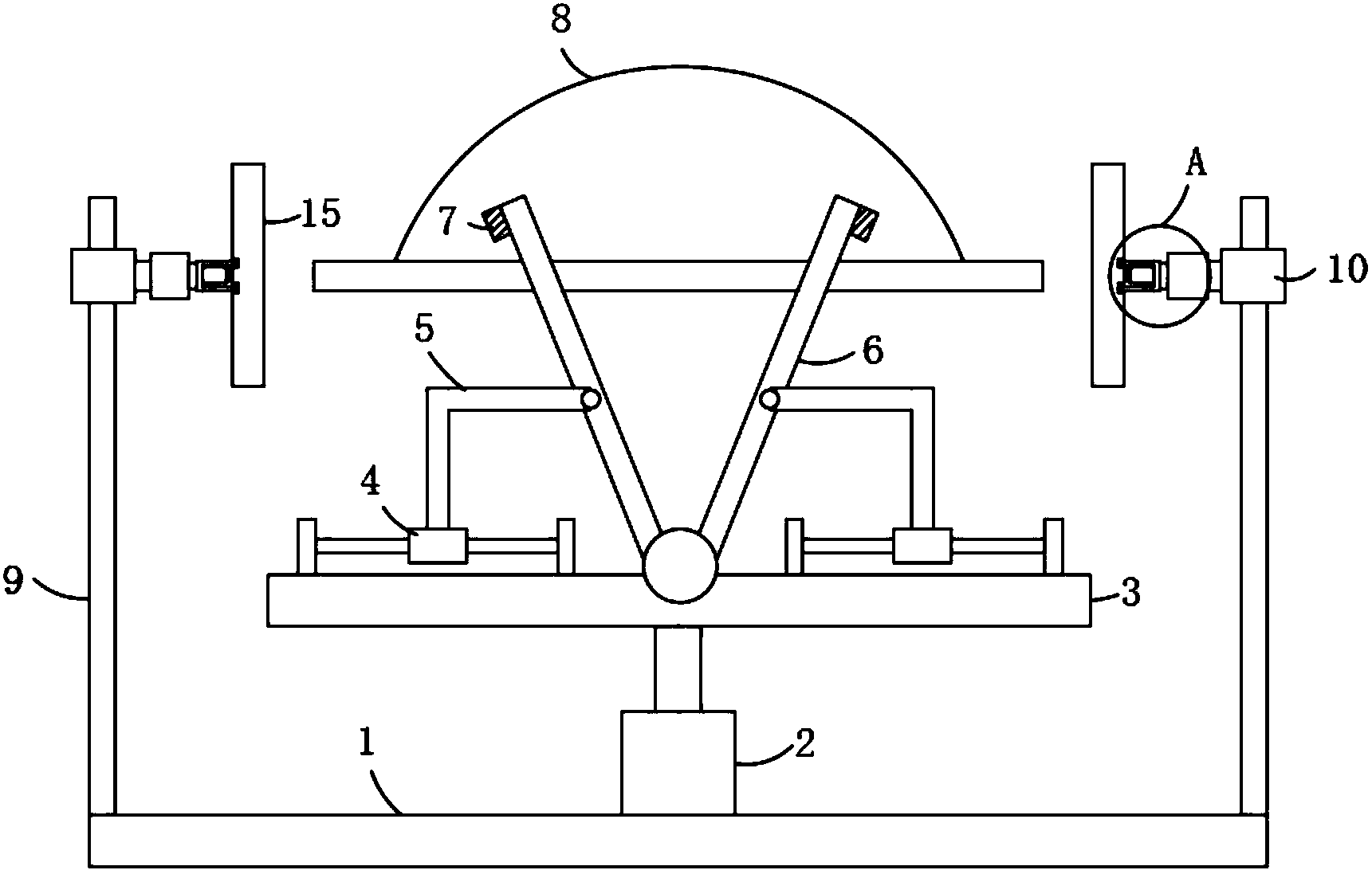
本实用新型公开了一种燃气表壳体生产用切边装置,包括底座和壳体,所述底座的上侧壁固定连接有第一转动电机,所述第一转动电机的驱动端固定连接有固定板,所述固定板上侧壁固定连接有两个直线导轨,每个所述直线导轨均包括导轨和在导轨上滑动的滑块,每个所述滑块的上侧壁固定连接有L型板,所述固定板的上侧壁还转动连接有两个转动板,两个所述转动板位于两个直线导轨之间,两个所述L型板远离固定板的一端与其中一个L型板转动连接。本实用新型通过对燃气表的壳体进行夹紧固定后移动刮刀与壳体接触,并通过壳体和刮刀的转动实现对壳体的外壁进行切边工作,实现了自动化的切边工作,操作简便,方便实用。


