授权公布号:CN207205640U
一种用于燃气表外壳焊接螺母的电焊工作台
有效
申请
2017-09-19
申请公布
1970-01-01
授权
2018-04-10
预估到期
2027-09-19
| 申请号 | CN201721201850.3 |
| 申请日 | 2017-09-19 |
| 授权公布号 | CN207205640U |
| 授权公告日 | 2018-04-10 |
| 分类号 | B23K37/02;B23K37/04 |
| 分类 | 机床;不包含在其他类目中的金属加工; |
| 申请人名称 | 四川鹏翔电子科技有限责任公司 |
| 申请人地址 | 四川省达州市大竹县工业园区经开大道3号 |
专利法律状态
2018-04-10
授权
状态信息
授权
摘要
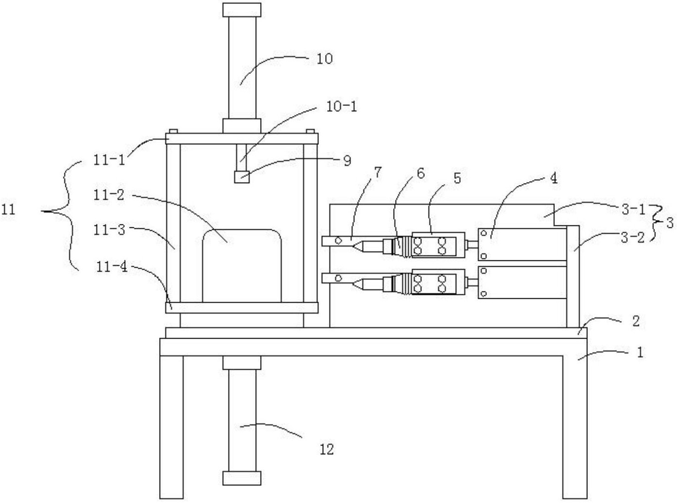
本实用新型公开了一种用于燃气表外壳焊接螺母的电焊工作台,涉及焊接工作台技术领域,本实用新型包括支撑架和设置在支撑架上的支撑板,所述的支撑板上左端设置有工件定位组件,工件定位组件上方设置有压紧机构,工件定位组件下方设置有取件机构,支撑板上右端设置有焊枪安装座,焊枪安装座包括竖直板,竖直板前后两侧分别固定设置有两组横向滑轨,每个横向滑轨上均设置有能够沿横向滑轨往复运动的且与工件定位组件配合的焊枪;本实用新型具有结构简单,多组气缸自动焊接、确认率高、提高了效率和降低了人工劳动强度的优点。


