授权公布号:CN214843445U
一种带有漏气控制阀的燃气表
失效
申请
2021-05-28
申请公布
1970-01-01
授权
2021-11-23
预估到期
2031-05-28
| 申请号 | CN202121170675.2 |
| 申请日 | 2021-05-28 |
| 授权公布号 | CN214843445U |
| 授权公告日 | 2021-11-23 |
| 分类号 | G01F15/00;G08B21/16;F16L29/00 |
| 分类 | 测量;测试; |
| 申请人名称 | 四川鹏翔电子科技有限责任公司 |
| 申请人地址 | 四川省达州市大竹县工业园区经开大道3号 |
专利法律状态
2023-06-09
专利权的终止
状态信息
未缴年费专利权终止;IPC(主分类):G01F15/00;申请日:20210528;授权公告日:20211123
2021-11-23
授权
状态信息
授权
摘要
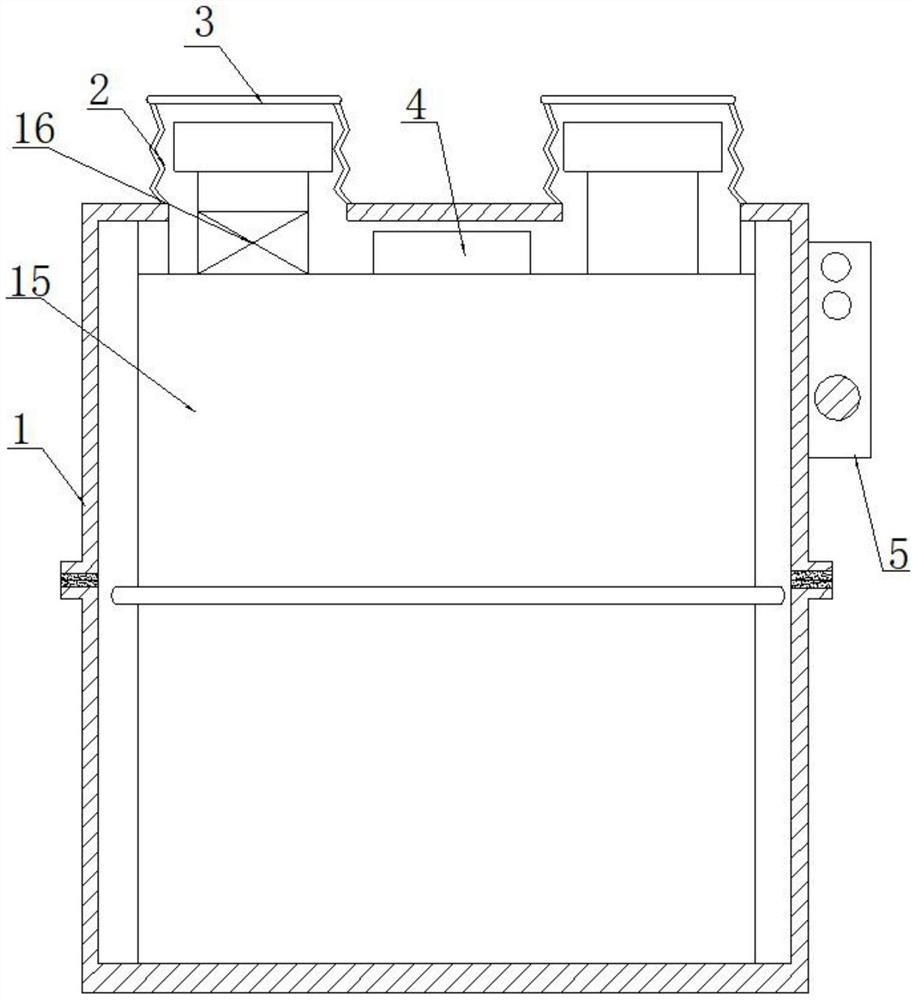
本实用新型公开了一种带有漏气控制阀的燃气表,包括防护外壳、柔性胶柱筒、松紧收缩孔环、燃气浓度检测传感器和控制盒,所述防护外壳的顶部开设有两个套设通孔,所述两个套设通孔的上方连接安装有所述柔性胶柱筒,所述柔性胶柱筒的顶部筒口安装有所述松紧收缩孔环,所述防护外壳的内部设有燃气表主体,所述燃气表主体的顶部安装有气进管和气出管,所述气进管和所述气出管之间的所述燃气表主体上安装有所述燃气浓度检测传感器,所述防护外壳的外侧壁上固定安装有所述控制盒。有益效果在于:本实用新型可以快速的对漏气情况进行检测后自锁,减少燃气泄漏所带来的损失,也对其进行警报提示,减少事故的发生,提高燃气使用的安全性。


