授权公布号:CN205642500U
一种燃气表机芯的立轴
有效
申请
2016-05-30
申请公布
1970-01-01
授权
2016-10-12
预估到期
2026-05-30
| 申请号 | CN201620503096.8 |
| 申请日 | 2016-05-30 |
| 授权公布号 | CN205642500U |
| 授权公告日 | 2016-10-12 |
| 分类号 | G01F15/00;G01F15/18 |
| 分类 | 测量;测试; |
| 申请人名称 | 四川鹏翔电子科技有限责任公司 |
| 申请人地址 | 四川省达州市大竹县竹阳镇云东大道工业园区 |
专利法律状态
2016-10-12
授权
状态信息
授权
摘要
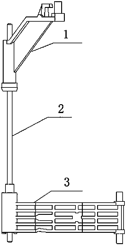
本实用新型公开了一种燃气表机芯的立轴,涉及燃气表装配领域,一种燃气表机芯的立轴,从上到下依次设置为肘节、杆体、摇臂,所述肘节、摇臂与杆体之间均相互固定,所述杆体的中间呈圆柱状,杆体的两端呈多棱柱状或设有凸棱或凹槽,所述肘节与杆体的连接端设有相对应的固定连接通孔,杆体的下端套设有正多棱柱定位套,所述正多棱柱定位套呈正多棱柱状,正多棱柱定位套中心处设有与杆体的下端相对应的固定连接通孔,所述摇臂一端设有与正多棱柱定位套相对应的正多棱柱通孔。杆体的两端设置成多棱柱状或设有凸棱或凹槽,保证了肘节、杆体、摇臂两两之间的夹角恒定,避免了因立轴角度问题带来的死表问题。


