授权公布号:CN208313377U
一种燃气表密封安装盒
有效
申请
2018-07-11
申请公布
1970-01-01
授权
2019-01-01
预估到期
2028-07-11
| 申请号 | CN201821096451.X |
| 申请日 | 2018-07-11 |
| 授权公布号 | CN208313377U |
| 授权公告日 | 2019-01-01 |
| 分类号 | G01F15/14 |
| 分类 | 测量;测试; |
| 申请人名称 | 四川鹏翔电子科技有限责任公司 |
| 申请人地址 | 四川省达州市大竹县工业园经开大道3号 |
专利法律状态
2019-01-01
授权
状态信息
授权
摘要
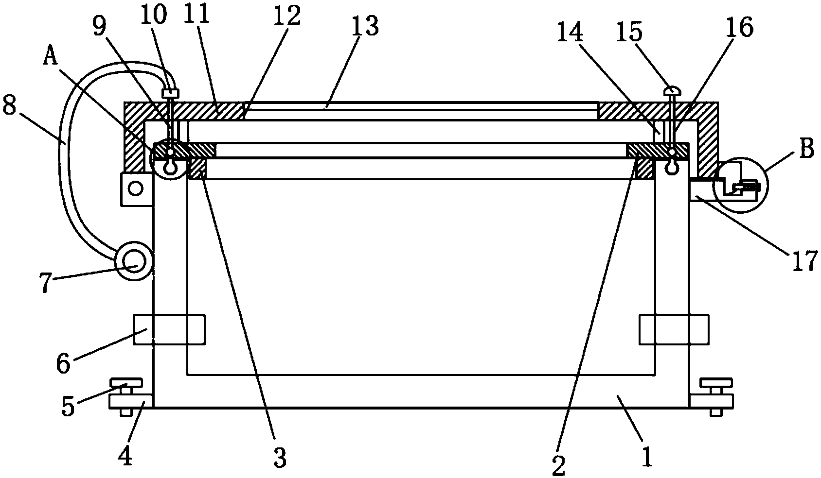
本实用新型公开了一种燃气表密封安装盒,包括盒体,所述盒体的上端设有开口,所述盒体的上方设有封盖,所述封盖的一侧和盒体转动连接,所述封盖的一侧固定连接有连接块,所述盒体的侧壁上固定连接有与连接块对应的安装块,且连接块和安装块可拆卸连接,所述封盖的上端贯穿设有观察窗,所述盒体靠近下端的两侧均设有固定机构,所述盒体和封盖之间设有封板,所述封板上端的两侧均固定连接有固定杆,所述固定杆远离封板的一端固定连接在封盖上,所述封板为透明塑料板,所述封板内设有空腔,且空腔为环形结构。本实用新型,通过气囊的充气膨胀,实现燃气表安装盒的快速密封,密封效果好。


