授权公布号:CN217930707U
一种用于拖拉机变速箱的新型气密性检测台
有效
申请
2021-08-18
申请公布
1970-01-01
授权
2022-11-29
预估到期
2031-08-18
| 申请号 | CN202122022476.3 |
| 申请日 | 2021-08-18 |
| 授权公布号 | CN217930707U |
| 授权公告日 | 2022-11-29 |
| 分类号 | G01M3/06 |
| 分类 | 测量;测试; |
| 申请人名称 | 山东白龙机械有限公司 |
| 申请人地址 | 山东省临沂市莒南县经济开发区大西环路南段 |
专利法律状态
2022-11-29
授权
状态信息
授权
摘要
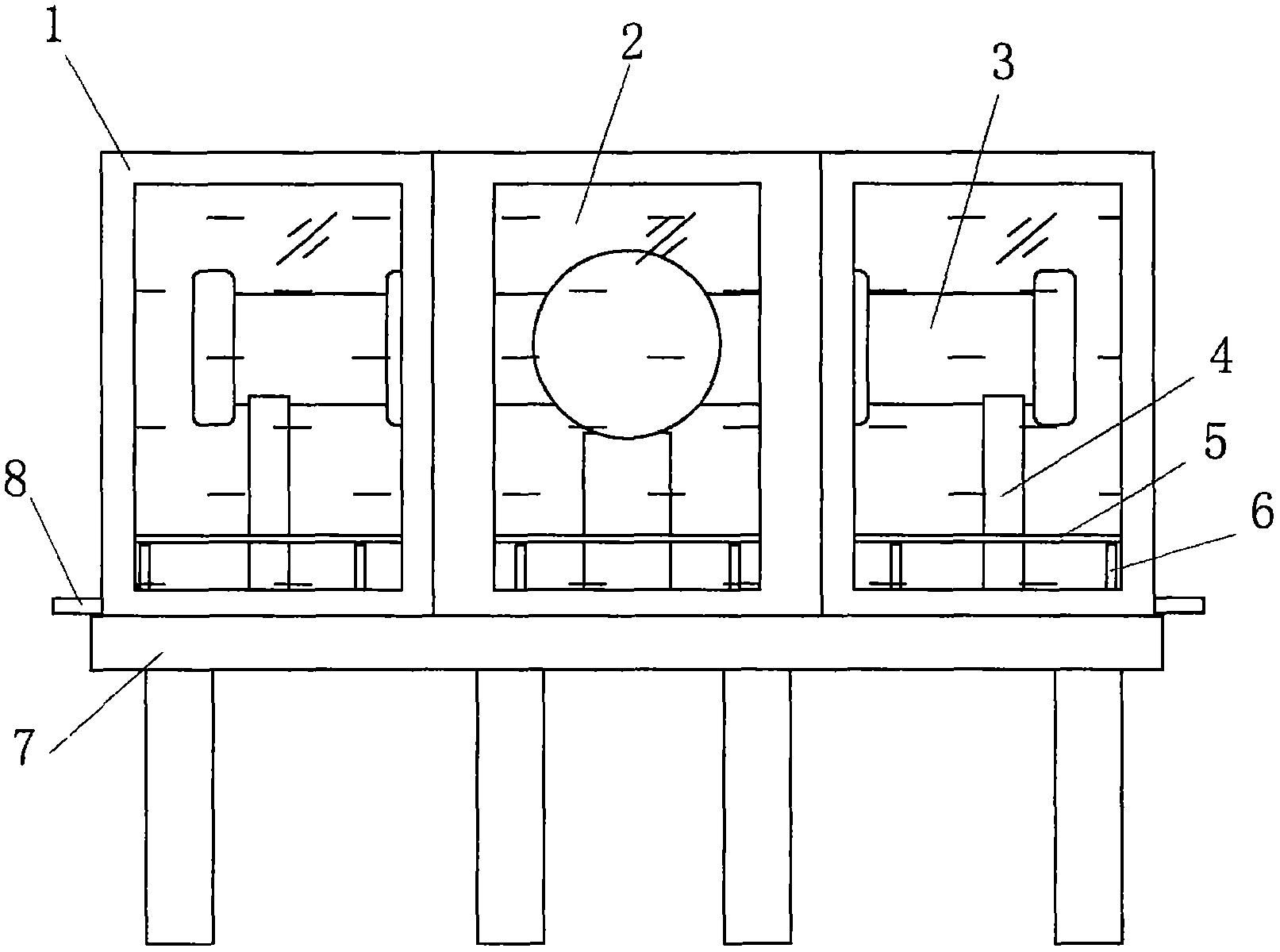
本实用新型公开了一种用于拖拉机变速箱的新型气密性检测台,它包括水箱框架,水箱框架内的底部设有支撑座;水箱框架的底部焊接有支撑底板;水箱框架的周壁分别设有钢化玻璃窗,钢化玻璃窗与水箱框架密封粘接;水箱框架内平铺有与其内径匹配的挡污板,挡污板上设有对流孔,挡污板的底面通过支腿平放在水箱框架内的底部;挡污板上设有开孔;水箱框架的下方设有托举底座。本实用新型利的高度抬高,钢化玻璃窗利于观察,无需弯腰附身,观察的角度增加,基本无死角。挡污板能够将水体分为上下两层,上层为流动性明显的水体,而下层的水体流动缓慢,泥沙污物难以翻腾上浮,保证上层水体清澈。换水的频率也明显减少,还节省了一定的用水成本。


