授权公布号:CN215806167U
一种穗茎兼收型玉米收获机主传动轴固定装置
有效
申请
2021-08-04
申请公布
1970-01-01
授权
2022-02-11
预估到期
2031-08-04
| 申请号 | CN202121808367.8 |
| 申请日 | 2021-08-04 |
| 授权公布号 | CN215806167U |
| 授权公告日 | 2022-02-11 |
| 分类号 | F16H57/00;F16H57/021;A01D69/06;A01D45/02 |
| 分类 | 工程元件或部件;为产生和保持机器或设备的有效运行的一般措施;一般绝热; |
| 申请人名称 | 河南沃德机械制造有限公司 |
| 申请人地址 | 河南省新乡市辉县市产业集聚区洪洲园区 |
专利法律状态
2022-02-11
授权
状态信息
授权
摘要
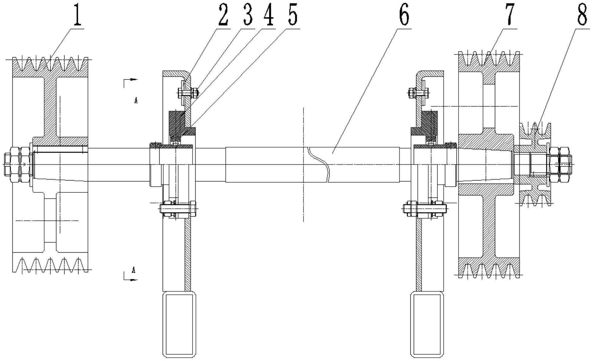
本实用新型涉及农业机械技术领域,具体公开了一种穗茎兼收型玉米收获机主传动轴固定装置,包括主轴,所述主轴通过轴承设置于轴承架,所述轴承架的顶部设置有凹槽,所述凹槽为轴承架沿主轴轴向方向设置的开口,所述凹槽内设置有用于容纳轴承的轴承座,所述轴承架可拆卸设置有用于封堵所述凹槽的连接板,所述连接板包括位于紧贴轴承上部设置的压板和位于压板两端与轴承架连接的固定板。本实用新型使得主轴与轴承架之间的拆卸安装更加便捷,主轴的更换有利于安装更换不同的主轴,利用主轴上设置的不同传动装置实现不同的传动目的,使得动力的分配更适合不同的外接设备,大大提高了外设装备的安装使用便利性。


