授权公布号:CN215379972U
一种穗茎兼收型玉米收获机无级变速装置
有效
申请
2021-06-16
申请公布
1970-01-01
授权
2022-01-04
预估到期
2031-06-16
| 申请号 | CN202121332648.0 |
| 申请日 | 2021-06-16 |
| 授权公布号 | CN215379972U |
| 授权公告日 | 2022-01-04 |
| 分类号 | A01D45/02;A01D69/06;A01D67/00;A01D69/03 |
| 分类 | 农业;林业;畜牧业;狩猎;诱捕;捕鱼; |
| 申请人名称 | 河南沃德机械制造有限公司 |
| 申请人地址 | 河南省新乡市辉县市产业集聚区洪洲园区 |
专利法律状态
2022-01-04
授权
状态信息
授权
摘要
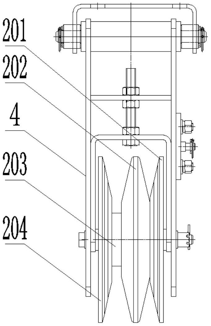
本实用新型及农机设备技术领域,具体公开了一种穗茎兼收型玉米收获机无级变速装置,包括分别设置于车架的主动轮、变速轮和被动轮,所述变速轮分别通过三角带与所述主动轮和所述被动轮连接,所述变速轮与所述车架支架设置有改变所述变速轮位置的驱动装置。本实用新型通过游动轮的位置改变,造成变速轮输入侧和输出侧传动半径同时变化,实现三角带与变速轮之间驱动半径的线性变化,进而实现主动轮与被动轮之间更大速比的无级变速的目的,传动结构简单,运行维护方便,有利于低成本实现无级变速的目的。


