授权公布号:CN213343412U
一种自走式葫芦机的双筒清选装置
有效
申请
2020-09-12
申请公布
1970-01-01
授权
2021-06-04
预估到期
2030-09-12
| 申请号 | CN202021991792.0 |
| 申请日 | 2020-09-12 |
| 授权公布号 | CN213343412U |
| 授权公告日 | 2021-06-04 |
| 分类号 | A01F11/00;A01F12/18;A01F12/44 |
| 分类 | 农业;林业;畜牧业;狩猎;诱捕;捕鱼; |
| 申请人名称 | 内蒙古蒙龙机械制造有限责任公司 |
| 申请人地址 | 内蒙古自治区巴彦淖尔市五原县鸿鼎工业园区 |
专利法律状态
2021-06-04
授权
状态信息
授权
摘要
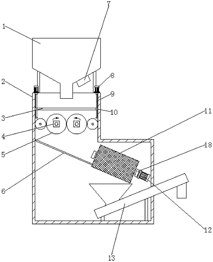
本实用新型公开了一种自走式葫芦机的双筒清选装置,包括破碎室,所述破碎室顶部设置有储存室,且储存室内壁设置有弹簧,所述弹簧一侧设置有缓冲接料板,且缓冲接料板和弹簧关于储存室内壁的左右两侧均有设置,并且储存室底部设置有振动电机,所述破碎室内壁设置有丝杆,所述破碎室内壁设置有破碎滚筒组,且破碎滚筒组位于压板底部。该自走式葫芦机的双筒清选装置通过在破碎室顶部设置储存室,使收割的葫芦进入到储存室内部经过储存室内部的缓冲接料板的拨动进行阶段性下料,由此避免破碎室内部物料过多,同时在破碎室内部设置压板,通过丝杆等组件带动压板挤压葫芦贴近破碎滚筒组,由此提高破碎效率,避免出现破碎不彻底的现象。


