授权公布号:CN213110721U
料斗卸料端流量调节装置
有效
申请
2020-09-15
申请公布
1970-01-01
授权
2021-05-04
预估到期
2030-09-15
| 申请号 | CN202022021079.X |
| 申请日 | 2020-09-15 |
| 授权公布号 | CN213110721U |
| 授权公告日 | 2021-05-04 |
| 分类号 | B65D88/28 |
| 分类 | 输送;包装;贮存;搬运薄的或细丝状材料; |
| 申请人名称 | 内蒙古蒙龙机械制造有限责任公司 |
| 申请人地址 | 内蒙古自治区巴彦淖尔市五原县鸿鼎工业园区 |
专利法律状态
2021-05-04
授权
状态信息
授权
摘要
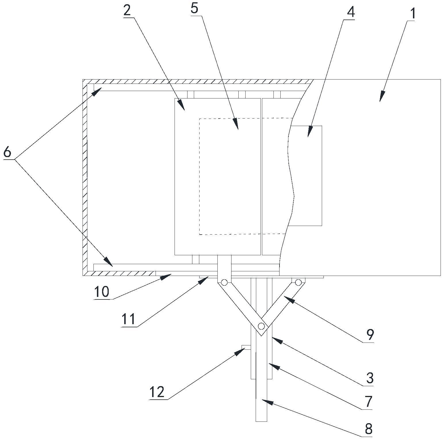
本实用新型公开了一种料斗卸料端流量调节装置,包括壳体、阀板、驱动装置,壳体的顶端中部开设有进料口,壳体的底端开设有与进料口相对设置的出料口,出料口两侧的壳体底端内壁上固定设有相对设置的一组滑轨,两条滑轨之间水平设有两个阀板,两个阀板沿进料口的中心线左右对称设置,且任一阀板的两侧分别与两侧的滑轨滑动连接,阀板的上表面与壳体的顶端内壁紧密贴合,壳体的外壁固定设有用于驱动两个阀板沿滑轨相对滑动或相向滑动的驱动装置。


