授权公布号:CN110447377B
从农业收割机卸载收割作物的系统
有效
申请
2019-05-07
申请公布
2019-11-15
授权
2022-04-15
预估到期
2039-05-07
| 申请号 | CN201910373310.0 |
| 申请日 | 2019-05-07 |
| 申请公布号 | CN110447377A |
| 申请公布日 | 2019-11-15 |
| 授权公布号 | CN110447377B |
| 授权公告日 | 2022-04-15 |
| 分类号 | A01D41/12 |
| 分类 | 农业;林业;畜牧业;狩猎;诱捕;捕鱼; |
| 申请人名称 | 凯斯纽荷兰工业(哈尔滨)机械有限公司 |
| 申请人地址 | 黑龙江省哈尔滨市哈南工业新城核心区松花路78号 |
专利法律状态
2022-04-15
授权
状态信息
授权
2022-04-12
专利申请权、专利权的转移
状态信息
专利申请权的转移;IPC(主分类):A01D 41/12;专利申请号:2019103733100;登记生效日:20220330;变更事项:申请人;变更前权利人:凯斯纽荷兰(中国)管理有限公司;变更后权利人:凯斯纽荷兰工业(哈尔滨)机械有限公司;变更事项:地址;变更前权利人:200131 上海市浦东新区外高桥保税区马吉路2号10层;变更后权利人:150060 黑龙江省哈尔滨市哈南工业新城核心区松花路78号
2019-12-10
实质审查的生效
状态信息
实质审查的生效;IPC(主分类):A01D 41/12;专利申请号:2019103733100;申请日:20190507
2019-11-15
发明专利申请公布
状态信息
公布
摘要
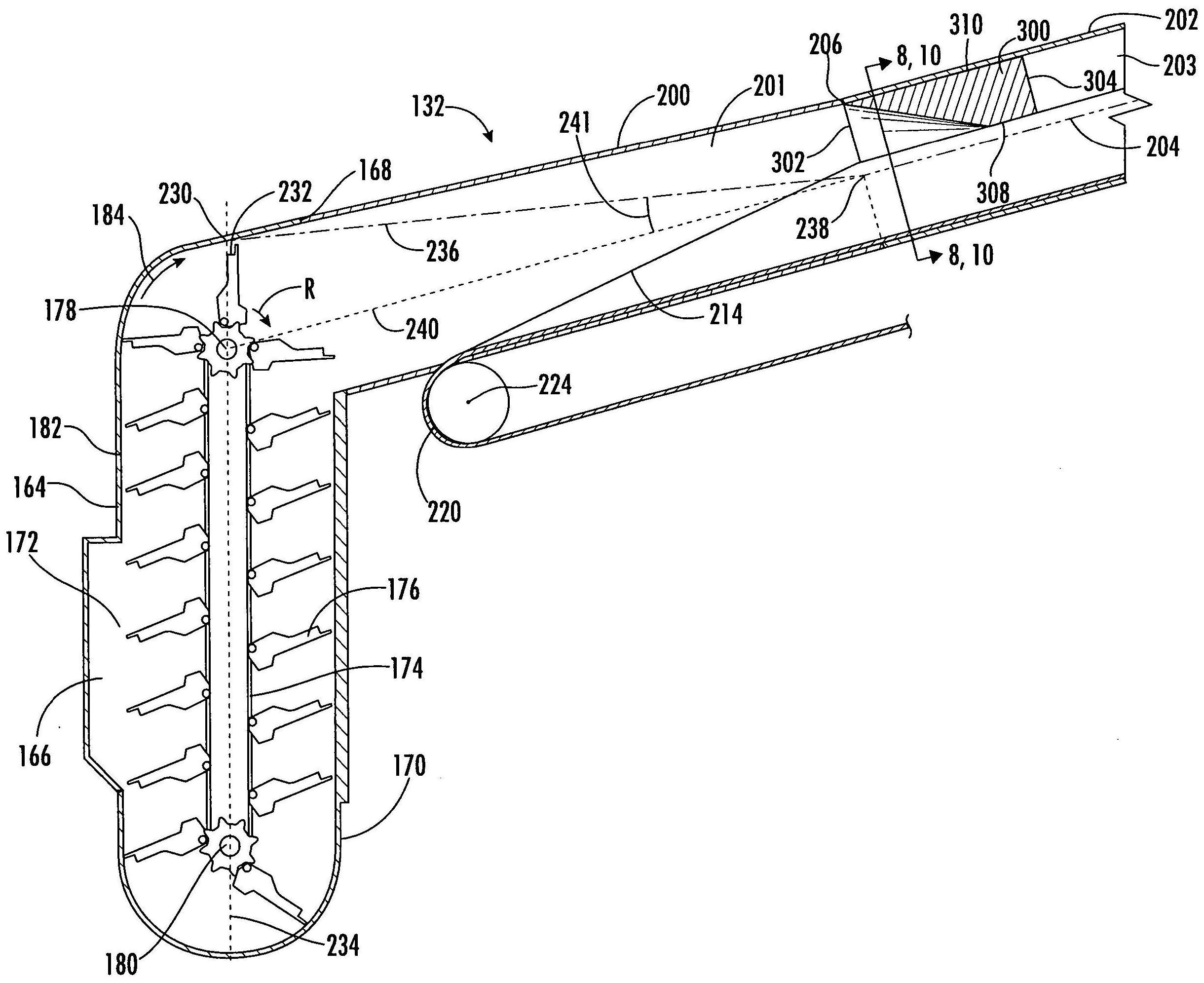
本发明涉及从农业收割机卸载收割作物的系统,包括作物输出装置、卸载结构、带和偏转器。作物输出装置具有供作物物料流排出的出口。卸载结构从作物输出装置的出口接收作物物料流,并且包括沿纵向轴线延伸并限定了贯穿通道的传送管部,该通道具有打开的进入端。带从进入端延伸通过通道,用于输送作物物料流通过传送管部。偏转器在卸载结构内从上游端延伸到下游端,使得从作物输出装置接收的作物物料流的至少一部分接触偏转器并且被朝向带的至少一部分引导。


