授权公布号:CN207984491U
一种调平装置、调平转向驱动桥及拖拉机
有效
申请
2018-03-27
申请公布
1970-01-01
授权
2018-10-19
预估到期
2028-03-27
| 申请号 | CN201820423779.1 |
| 申请日 | 2018-03-27 |
| 授权公布号 | CN207984491U |
| 授权公告日 | 2018-10-19 |
| 分类号 | B60G17/00;B62D5/06;B62D61/00 |
| 分类 | 一般车辆; |
| 申请人名称 | 四川川龙拖拉机制造有限公司 |
| 申请人地址 | 四川省成都市新都区石板滩镇马家村10组 |
专利法律状态
2018-10-19
授权
状态信息
授权
摘要
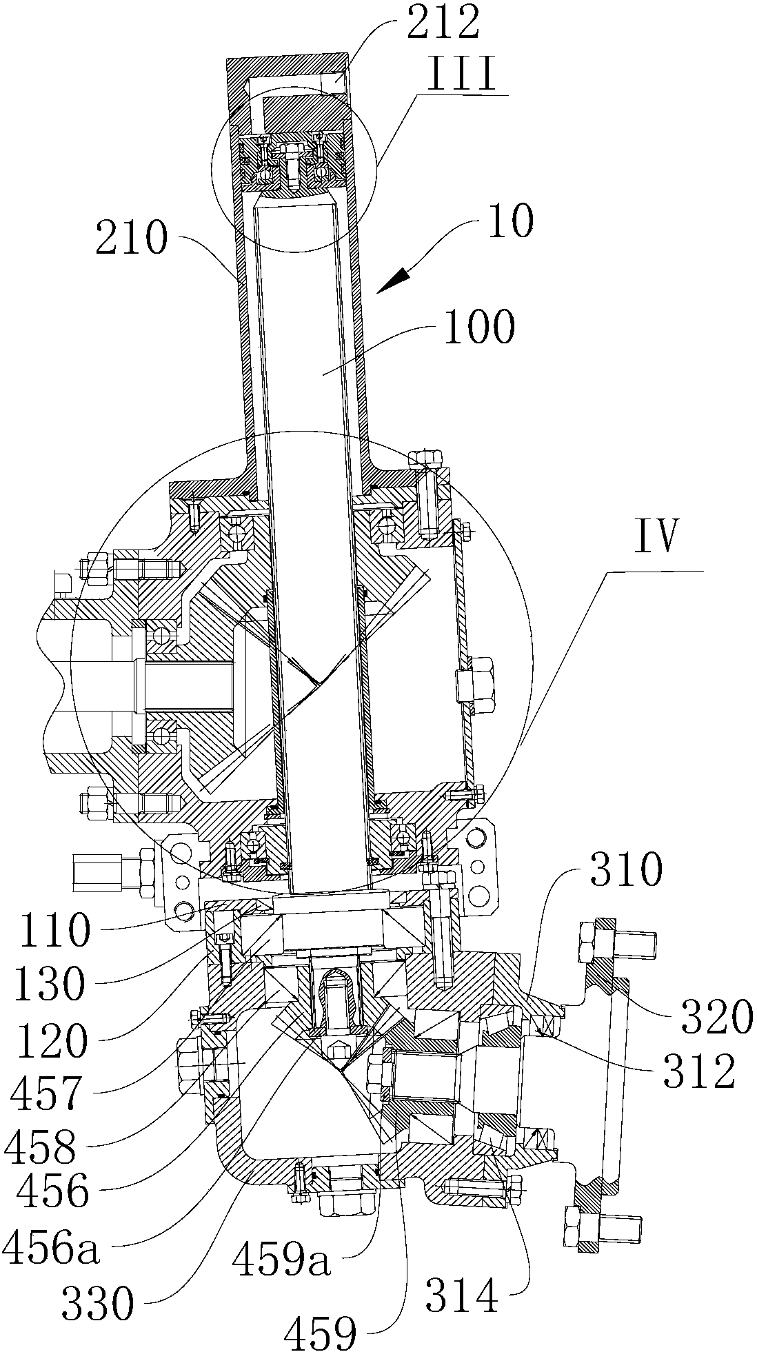
本实用新型涉及丘陵山地轮式拖拉机,特别涉及一种调平装置、调平转向驱动桥及拖拉机。本实用新型的实施例中提供的调平装置,包括传动支撑轴以及与传动支撑轴传动连接的第一驱动装置,用于驱动传动支撑轴沿其长度方向上下滑动;且传动支撑轴与轮边传动总成连接,用于带动轮边传动总成上下移动。在使用过程中,将本实用新型提供的调平装置连接于现有拖拉机的轮毂上,即可实现轮毂在高度方向上实现上下调整,以满足拖拉机能够在有坡度的坡地上横向作业。本实用新型提供的调平转向驱动桥,包括上述的调平装置,因此也具有上述的有益效果。本实用新型提供的拖拉机,包括上述的调平转向驱动桥,因此也具有上述的有益效果。


