授权公布号:CN210920011U
拖拉机限滑差速器及拖拉机
有效
申请
2019-11-19
申请公布
1970-01-01
授权
2020-07-03
预估到期
2029-11-19
| 申请号 | CN201922008238.X |
| 申请日 | 2019-11-19 |
| 授权公布号 | CN210920011U |
| 授权公告日 | 2020-07-03 |
| 分类号 | F16H48/22 |
| 分类 | 工程元件或部件;为产生和保持机器或设备的有效运行的一般措施;一般绝热; |
| 申请人名称 | 四川川龙拖拉机制造有限公司 |
| 申请人地址 | 四川省成都市新都区石板滩镇马家村10组 |
专利法律状态
2020-07-03
授权
状态信息
授权
摘要
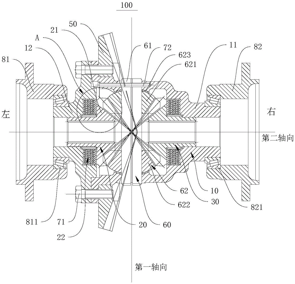
本申请涉及一种拖拉机限滑差速器及拖拉机,属于车辆领域。本申请提出一种拖拉机限滑差速器,壳体和左右对称布置于壳体内部的输出装置;每个输出装置包括半轴锥齿轮组件和摩擦片组件,壳体用于与动力轴传动连接,半轴锥齿轮组件包括齿轮轴和连接于齿轮轴端部的锥齿轮,摩擦片组件安装于齿轮轴,壳体具有用于与输出装置对应的限位面,摩擦片组件限制于限位面和锥齿轮之间。当一侧的驱动轮打滑时,驾驶员加大油门,使动力轴转速急增,进而产生对锥齿轮的侧向力,推动锥齿轮挤压摩擦片组件,达到限滑目的。本申请还提出一种拖拉机,应用了上述的拖拉机限滑差速器,该拖拉机的制造成本较低,且具有限滑功能。


