授权公布号:CN206982133U
一种用于机器视觉精确定位的装配装置
有效
申请
2017-06-06
申请公布
1970-01-01
授权
2018-02-09
预估到期
2027-06-06
| 申请号 | CN201720648729.9 |
| 申请日 | 2017-06-06 |
| 授权公布号 | CN206982133U |
| 授权公告日 | 2018-02-09 |
| 分类号 | B23P21/00;B25J19/04 |
| 分类 | 机床;不包含在其他类目中的金属加工; |
| 申请人名称 | 内蒙古第一机械集团有限公司 |
| 申请人地址 | 内蒙古自治区包头市青山区民主路 |
专利法律状态
2018-02-09
授权
状态信息
授权
摘要
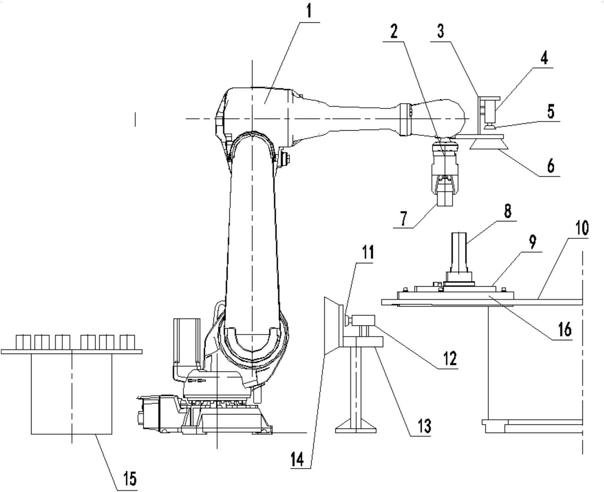
本实用新型公开了一种用于机器视觉精确定位的装配装置。还包括用于固定放置被装工件的安装平台、置于装配机器人侧方的待装工件视觉采集组件和置于装配机器人末端的工件装配视觉采集组件;所述安装平台包括定制工装夹具、岛式回转装配台和固定工装夹具,工件装配视觉采集组件包括相机安装法兰支架、变焦工业相机、第一工业镜头和第一环形LED光源,待装工件视觉采集组件包括第二工业镜头、定焦工业相机,相机安装支架和第二环形LED光源。本实用新型可在工件装配过程中实现准确采集零件类型及外观轮廓,用于精确定位装配位置,指导装配机器人正确抓取零件,通过视觉比对校准装配机器人抓取姿态,用提供的精准位置定位进行装配。


