授权公布号:CN218982006U
一种水产饲料调质机用加湿设备
有效
申请
2022-12-08
申请公布
1970-01-01
授权
2023-05-09
预估到期
2032-12-08
| 申请号 | CN202223290398.6 |
| 申请日 | 2022-12-08 |
| 授权公布号 | CN218982006U |
| 授权公告日 | 2023-05-09 |
| 分类号 | B05B13/02;B05B13/04;A23N17/00 |
| 分类 | 一般喷射或雾化;对表面涂覆液体或其他流体的一般方法〔2〕; |
| 申请人名称 | 佛山市顺德区旺海饲料实业有限公司 |
| 申请人地址 | 广东省佛山市顺德区勒流镇江义工业区 |
专利法律状态
2023-05-09
授权
状态信息
授权
摘要
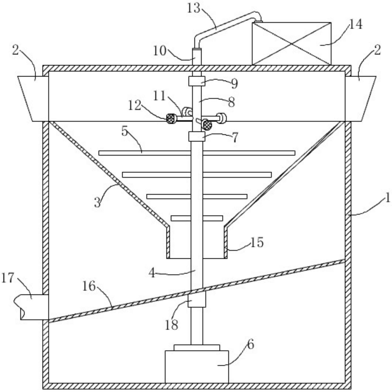
本实用新型公开了一种水产饲料调质机用加湿设备,包括调质机箱体,调质机箱体顶部侧壁上设置有多个进料斗,锥斗部设置在调质机箱体内,多个桨叶均布设置在锥斗部内,且分别垂直连接在调质轴上,下加湿管其底口端通过下密封组件固定连接调质轴的顶端,下加湿管的圆周方向上均布设有多个支管,支管远离下加湿管的一端固定连接雾化喷头,上加湿管其底口端通过上密封组件转动连接下加湿管的顶口端,且上密封组件中心位置处开设的通孔连通上加湿管和下加湿管,以使雾化管路布设方便,以实现锥斗部内落入粉状物料经过雾化水汽进行调质加湿处理,粉状饲料吸收水蒸汽中的热量和水分,使自身变软,有利于颗粒成形。


