授权公布号:CN114651795B
一种池塘养鱼捕捞设备及其使用方法
有效
申请
2022-02-18
申请公布
2022-06-24
授权
2023-08-29
预估到期
2042-02-18
| 申请号 | CN202210153429.9 |
| 申请日 | 2022-02-18 |
| 申请公布号 | CN114651795A |
| 申请公布日 | 2022-06-24 |
| 授权公布号 | CN114651795B |
| 授权公告日 | 2023-08-29 |
| 分类号 | A01K69/00;A01K75/00;B66F7/00;B66F7/28 |
| 分类 | 农业;林业;畜牧业;狩猎;诱捕;捕鱼; |
| 申请人名称 | 通威股份有限公司 |
| 申请人地址 | 四川省成都市中国(四川)自由贸易试验区成都高新区天府大道中段588号 |
专利法律状态
2023-11-24
专利申请权、专利权的转移
状态信息
专利权的转移;IPC(主分类):A01K 69/00;专利号:ZL2022101534299;登记生效日:20231109;变更事项:专利权人;变更前权利人:通威股份有限公司;变更后权利人:通威农业发展有限公司;变更事项:地址;变更前权利人:610000 四川省成都市高新区天府大道中段588号;变更后权利人:610000 四川省成都市中国(四川)自由贸易试验区成都高新区天府大道中段588号
2023-08-29
授权
状态信息
授权
2022-07-12
实质审查的生效
状态信息
实质审查的生效;IPC(主分类):A01K69/00;申请日:20220218
2022-06-24
公布
状态信息
公布
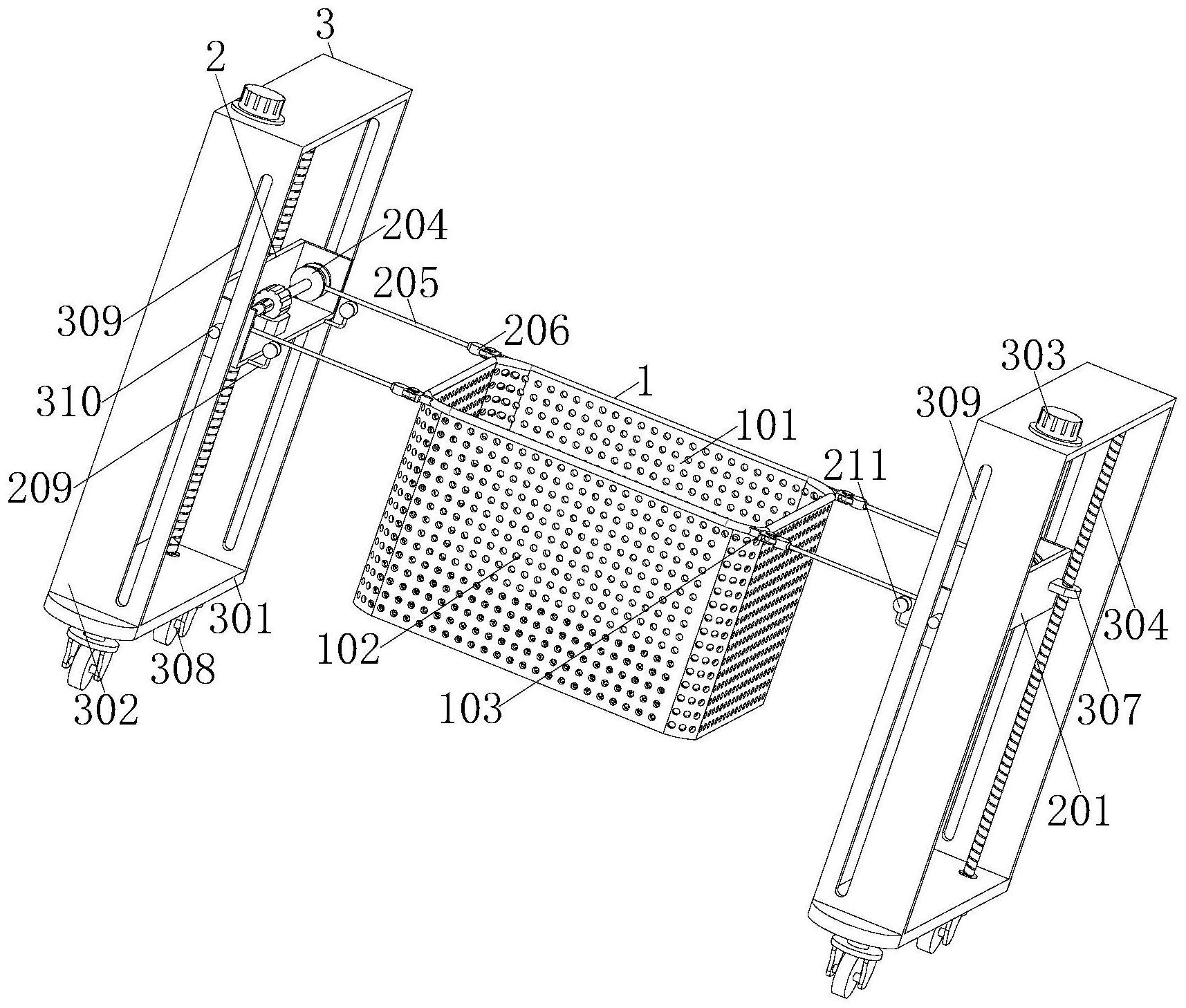
摘要
本发明公开了一种池塘养鱼捕捞设备及其使用方法,该捕捞设备包括捕捞机构,用于引诱并捕捞养殖鱼;绕绳机构,设置有两组,分别设置于捕捞机构两侧,绕绳机构用于移动和提升捕捞机构;提升机构,设置有两组,分别与绕绳机构活动连接,提升机构用于提升绕绳机构。该捕捞设备可有效解决现有的捕捞方法存在的劳动强度大,捕捞效率低的问题。


