授权公布号:CN218872471U
一种用于液态糖霜制备的成套设备
有效
申请
2022-12-08
申请公布
1970-01-01
授权
2023-04-18
预估到期
2032-12-08
| 申请号 | CN202223288063.0 |
| 申请日 | 2022-12-08 |
| 授权公布号 | CN218872471U |
| 授权公告日 | 2023-04-18 |
| 分类号 | B02C23/02;B02C25/00;A23G7/00 |
| 分类 | 破碎、磨粉或粉碎;谷物碾磨的预处理; |
| 申请人名称 | 安佑生物科技集团股份有限公司 |
| 申请人地址 | 江苏省太仓市沙溪镇岳王新港中路239号 |
专利法律状态
2023-04-18
授权
状态信息
授权
摘要
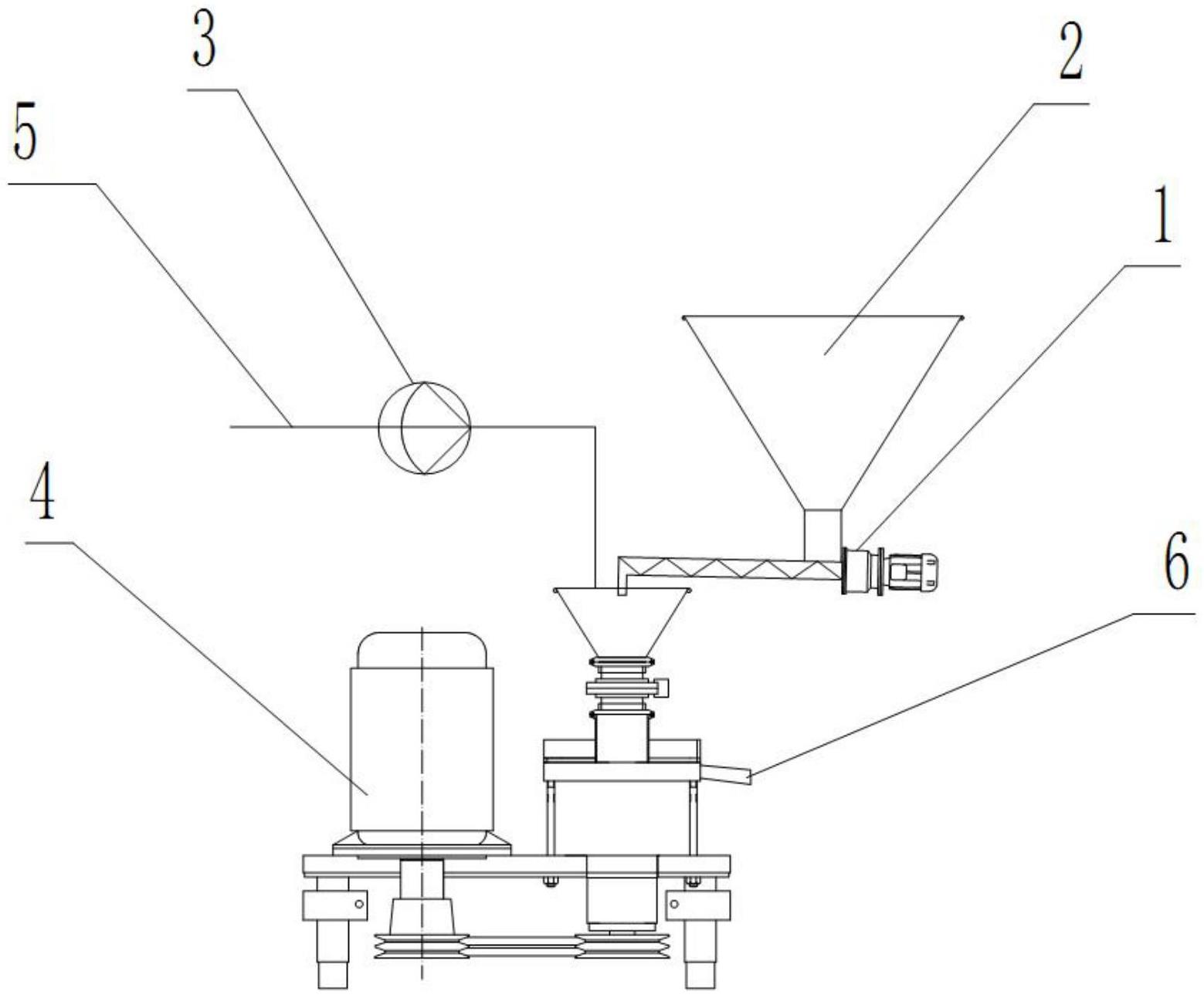
本实用新型公开了一种用于液态糖霜制备的成套设备,涉及食品加工技术领域。包括胶体磨,所述胶体磨的顶部设有进料口,所述进料口分别连通有进水管和白砂糖失重喂料秤,所述进水管上设有计量泵,所述白砂糖失重喂料秤的顶部设有白砂糖原料仓。本实用新型提供的用于液态糖霜制备的成套设备,通过设置胶体磨,将原料白砂糖与水按同时加入胶体磨中,经过胶体磨的高速混合、研磨,即可得到液态糖霜,白砂糖无需提前粉碎成糖粉,随制随用,具有工艺步骤简单,设备投资少,自动化程度高,便于清洗,能耗低的优点。


