授权公布号:CN217948006U
一种小肽分离系统
有效
申请
2022-07-07
申请公布
1970-01-01
授权
2022-12-02
预估到期
2032-07-07
| 申请号 | CN202221732992.3 |
| 申请日 | 2022-07-07 |
| 授权公布号 | CN217948006U |
| 授权公告日 | 2022-12-02 |
| 分类号 | C07K1/14;C07K1/34 |
| 分类 | 有机化学〔2〕; |
| 申请人名称 | 浙江惠嘉生物科技股份有限公司 |
| 申请人地址 | 浙江省湖州市安吉县梅溪镇晓墅工业功能区 |
专利法律状态
2022-12-02
授权
状态信息
授权
摘要
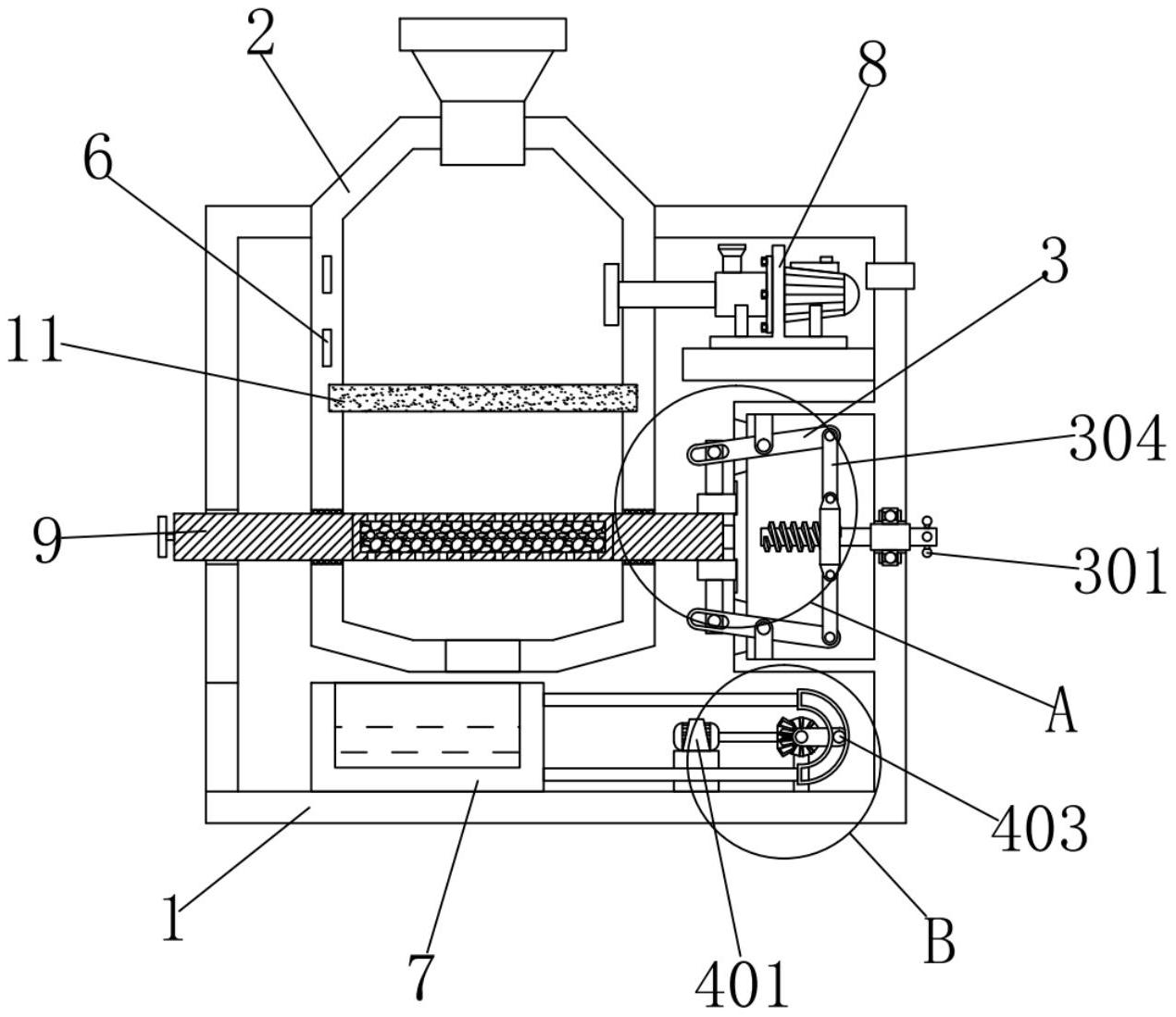
本实用新型公开了一种小肽分离系统,包括机壳,所述机壳的内部左侧与分离室相固接,所述分离室的外壁安装有两个电加热板,所述分离室的内壁安装有超滤膜,所述机壳的内部右上方通过支架与加压泵相固接,所述加压泵的输出端与分离室相连通,所述机壳的内部右下方设置有推料装置,所述机壳的内部右侧中间设置有拆卸装置。该小肽分离系统,通过手轮、螺杆、螺母、第一连杆、第二连杆和固定块之间的配合,使用者转动手轮,手轮带动螺杆转动,螺杆使螺母向左移动,解决了现有的小肽分离系统中,在活性炭过滤网长时间的使用后,需要进行更换,而对活性炭过滤网的固定采用多个螺栓进行固定,导致拆卸的过程较为繁琐,从而影响分离效率的问题。


